Запчасти Case 475 (022) - FLYWHEEL HOUSING, 336BD DIESEL ENGINE (10) - ENGINE

Схема запчастей Case 475 - (022) - FLYWHEEL HOUSING, 336BD DIESEL ENGINE (10) - ENGINE
FIT
1:1
100%

Артикул

Название

Примечание

Количество

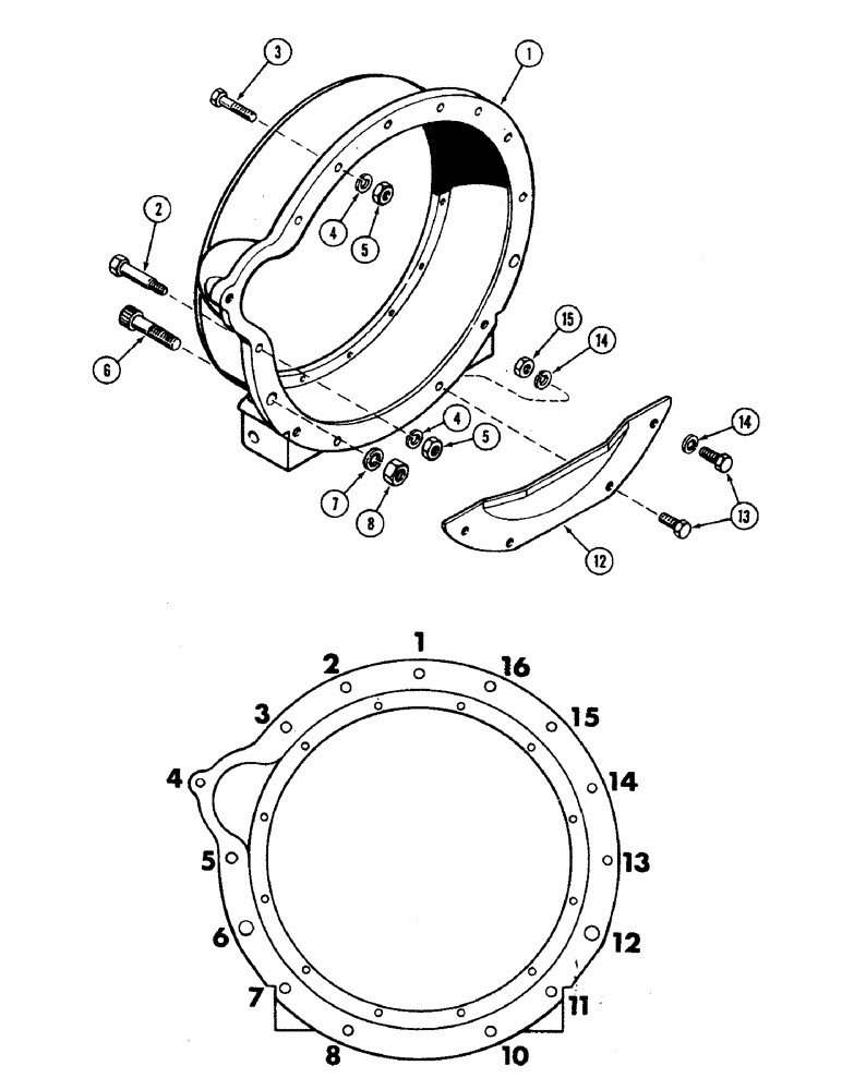
1

A150268

HOUSING

- flywheel (Replaces A9397)

1шт.

2

A149765

STEP BOLT

BOLT - dowel (1/2" NC, hex head x 2-7/16")

1шт.

2

A149764

STEP BOLT

BOLT - dowel (1/2" NC, hex head x 3")

1шт.

3

13-824

BOLT,Hex, 1/2" - 13 x 1-1/2", Gr 5, Full Thd

- 1/2 x 1-3/8" NC hex (Hole 1, 2, 16)

3шт.

3

13-840

BOLT,Hex, 1/2" - 13 x 2-1/2", Gr 5

- 1/2 x 2-1/2" NC hex (Hole 4, 9, 14)

3шт.

4

92-8

LOCK WASHER,1/2"

8шт.

5

25-108

NUT,1/2"-13, G5

- 1/2" NC hex

5шт.

6

166-138

12 PT SCREW,Flg, 3/4" - 10 x 3", Gr 8

BOLT - 3/4 x 3" NC, 12 point head (Hole 6, 12)

2шт.

7

92-12

LOCK WASHER,3/4"

WASHER, LOCK, 3/4"

2шт.

8

129-137

NUT,3/4"-10, G5

2шт.

12

A58931

GUARD

SHIELD - dust, flywheel

1шт.

13

13-812

BOLT,Hex, 1/2" - 13 x 3/4", Gr 5

- 1/2 x 3/4" NC hex (Hole 8, 10)

2шт.

13

13-824

BOLT,Hex, 1/2" - 13 x 1-1/2", Gr 5, Full Thd

(Hole 7, 11) Hex, 1/2"-13 x 1 1/2", G5, Full Thd

2шт.

14

92-8

LOCK WASHER,1/2"

4шт.

15

25-108

NUT,1/2"-13, G5

- 1/2" NC hex

2шт.

Выбрано товаров: 15