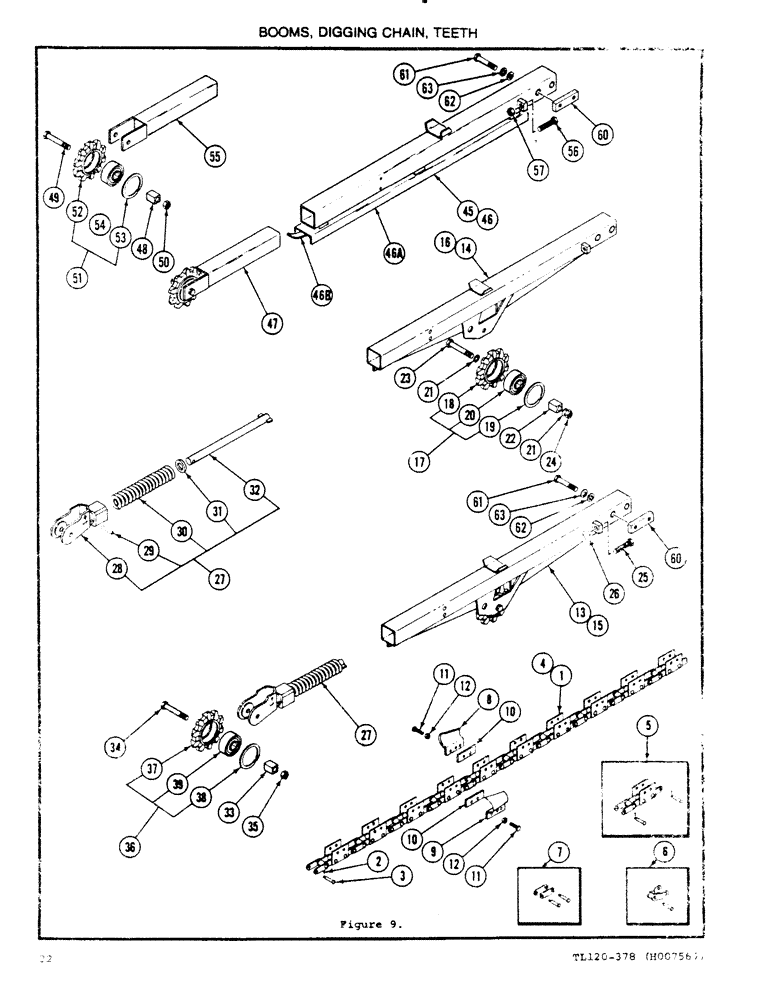
Запчасти Case 120 (22) - BOOMS, DIGGING CHAIN, TEETH

Схема запчастей Case 120 - (22) - BOOMS, DIGGING CHAIN, TEETH
FIT
1:1
100%

Артикул

Название

Примечание

Количество

1

H501791

CHAIN (CE)

Digging Chain - 56 Pitches, Includes: Ref. 2 and 3

1шт.

For 24" booms, use one 56 pitch chain. For 36" booms, use one 56 pitch chain and two 8 pitch chains.

1шт.

2

H30072

CONNECTOR, ELEC

Connector Pin

1шт.

H30072 is a D-shaped pin for a rex chain. If you are looking for the round pin for the ballantine chain, you can order 253215A1. The pins for ballantine chain 260 and 325 are 257350A1, .565 x 2.718 and 257351A1, .750 x 3.656.

1шт.

3

132-334

COTTER PIN,1/8" x 3/4"

PIN, SPLIT (COTTER), 1/8" x 3/4"

1шт.

4

H519462

CHAIN (AG)

Digging Chain - 8 Pitches (Includes: Refs. 2 and 3)

1шт.

For 24" booms, use one 56 pitch chain. For 36" booms, use one 56 pitch chain and two 8 pitch chains.

1шт.

5

H502054

CHAIN (CE)

Repair Section (Includes: Refs. 2 and 3)

1шт.

6

H59360

HALF-LINK

Half Link (Includes: Refs. 2 and 3)

1шт.

7

H504068

DRAG LINK

Connector Link (Includes: Refs. 2 and 3)

1шт.

8

H208371

TOOTH

- RH

1шт.

9

H208363

TOOTH

- LH

1шт.

10

H208355

SPACER

1шт.

11

114-252

BOLT,Hex, 3/8" - 24 x 1-1/4", Gr 8, Full Thd

HHCS (3/8 x 1 1/4 NF - Grade 8)

1шт.

12

131-1133

NUT,3/8"-24, GC

Nut (3/8 NF - Lock - Grade C)

1шт.

13

H564641

BOOM

And Sprocket Asm - 24" (Includes: Refs. 14 and 17 - 24)

1шт.

14

H564377

BOOM

Weld Asm - 24"

1шт.

15

H564658

BOOM

And Sprocket Asm - 36", Includes: Ref. 16 - 24

1шт.

16

H564849

BOOM

Weld Asm - 36"

1шт.

17

H503664

SPROCKET ASSY.

Sprocket Asm, Includes: Ref. 18 - 20

1шт.

18

H33563

DRIVE SPROCKET

Sprocket

1шт.

19

H33837

RING

Retainer Ring

1шт.

20

H747139

BALL BEARING

Bearing

1шт.

21

195-108

WASHER,5/8"

- Flat (5/8)

2шт.

22

H232645

BUSHING

Square Bushing

1шт.

Included in H575894 shaft kit.

1шт.

23

113-601

BOLT,Hex, 5/8" - 11 x 3", Gr 5

1шт.

Included in H575894 shaft kit.

1шт.

24

131-1130

LOCK NUT,5/8"-11, GA

Nut (5/8 NC - Lock)

1шт.

Included in H575894 shaft kit.

1шт.

25

H42473

ADJUSTMENT SCREW,Spcl, 1/2" - 13 x 3 3/4", Gr 5

Adjusting Screw

1шт.

26

129-145

JAM NUT,Jam, 1/2"-13, G5

1шт.

27

H509836

BOOM

Outer Boom Idler Mounting Bracket Asm, Includes: Ref. 28 - 32

1шт.

28

H33829

BRACKET

Mounting Casting

1шт.

29

138-177

LOCK PIN,3/8" x 2", Slotted

PIN, 3/8" x 2", Slotted

1шт.

30

H56713

VALVE SPRING

Spring

1шт.

31

H34199

WASHER

- Spring Stop

1шт.

32

H509349

TUBE

Guide

1шт.

33

H232645

BUSHING

Square Bushing

1шт.

Included in H575894 shaft kit.

1шт.

34

113-601

BOLT,Hex, 5/8" - 11 x 3", Gr 5

1шт.

Included in H575894 shaft kit.

1шт.

35

131-1130

LOCK NUT,5/8"-11, GA

Nut (5/8 NC - Lock)

1шт.

Included in H575894 shaft kit.

1шт.

36

H503664

SPROCKET ASSY.

Sprocket Asm, Includes: Ref. 37 - 39

1шт.

37

H33563

DRIVE SPROCKET

Sprocket

1шт.

38

H33837

RING

Retainer Ring

1шт.

39

H747139

BALL BEARING

Bearing

1шт.

45

H616086

BOOM

Channel Boom - 24", Includes: Ref. 46A and 46B

1шт.

46

H613075

BOOM

Channel Boom - 36", Includes: Ref. 46A and 46B

1шт.

46a

H315523

GUIDE

Channel

1шт.

46b

H315515

GUIDE

Wear Strip

1шт.

47

H614644

BOOM

Rigid Boom End And Sprocket Asm, Includes: Ref. 48 - 53

1шт.

48

H232645

BUSHING

Square Bushing

1шт.

Included in H575894 shaft kit.

1шт.

49

113-601

BOLT,Hex, 5/8" - 11 x 3", Gr 5

1шт.

Included in H575894 shaft kit.

1шт.

50

131-1130

LOCK NUT,5/8"-11, GA

Nut (5/8 NC - Lock)

1шт.

Included in H575894 shaft kit.

1шт.

51

H503664

SPROCKET ASSY.

Sprocket Asm, Includes: Ref. 52 - 54

1шт.

52

H33563

DRIVE SPROCKET

Sprocket

1шт.

53

H33837

RING

Retainer Ring

1шт.

54

H747139

BALL BEARING

Bearing

1шт.

55

H613083

END ASSY.

Rigid Boom End

1шт.

56

H42473

ADJUSTMENT SCREW,Spcl, 1/2" - 13 x 3 3/4", Gr 5

Adjusting Screw

1шт.

57

129-145

JAM NUT,Jam, 1/2"-13, G5

1шт.

60

H306191

PLATE ASSY.

Plate - Lock

1шт.

61

113-619

BOLT,Hex, 5/8" - 11 x 4-1/2", Gr 5

2шт.

62

195-541

WASHER,5/8", SAE

- Flat (5/8)

2шт.

63

192-25

LOCK WASHER,5/8"

WASHER, LOCK, 5/8"

2шт.

Выбрано товаров: 70