Запчасти Case 120 (26) - AUXILIARY TRANSMISSION ASSEMBLY

Схема запчастей Case 120 - (26) - AUXILIARY TRANSMISSION ASSEMBLY
FIT
1:1
100%

Артикул

Название

Примечание

Количество

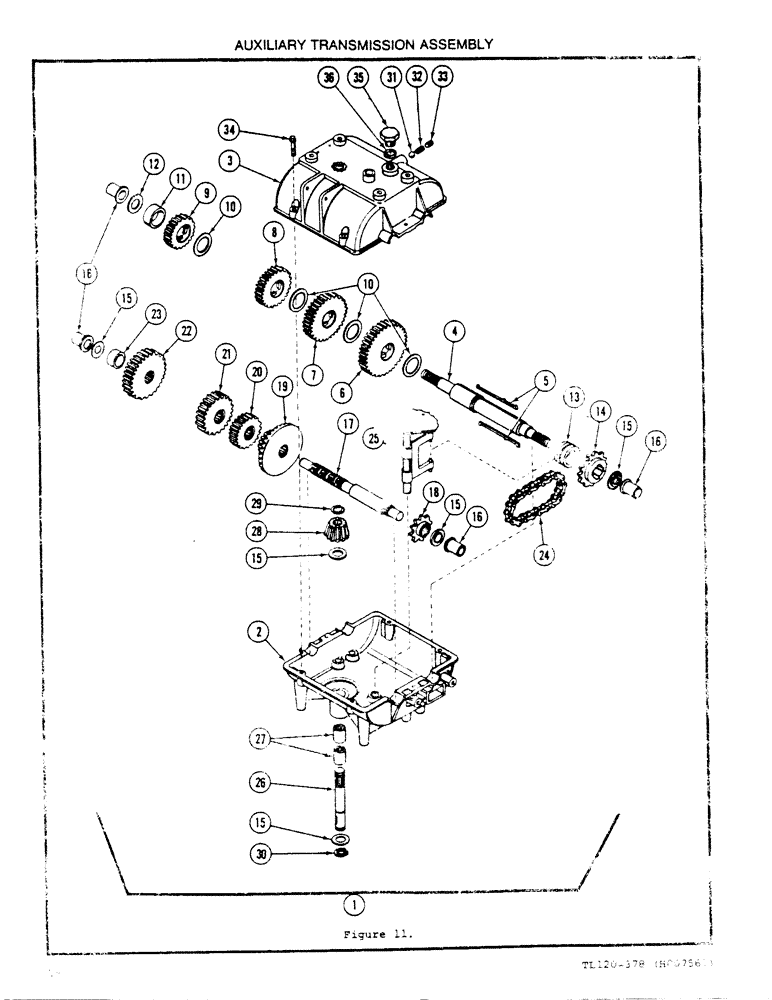
1

H636290

TRANSMISSION

Assy - Auxiliary, Includes: Ref. 2 - 34

1шт.

2

H606764

CASE

Assy - Auxiliary

1шт.

3

H296111

COVER ASSY

Cover - Upper Transmission

1шт.

4

H372813

SHAFT

- Output

1шт.

5

H372938

KEY

2шт.

6

H372854

GEAR WHEEL

Gear - Spur (35 Teeth)

1шт.

7

H372847

GEAR WHEEL

Gear - Spur (30 Teeth)

1шт.

8

H372839

GEAR WHEEL

Gear - Spur (25 Teeth)

1шт.

9

H372821

GEAR WHEEL

Gear - Spur (20 Teeth)

1шт.

10

H372946

WASHER

- Thrust

4шт.

11

H372904

SPACER

1шт.

12

H372920

WASHER

1шт.

13

H372862

COLLAR CLAMP

Collar - Shift

1шт.

14

H296194

DRIVE SPROCKET

Sprocket (14 Teeth)

1шт.

15

C19345

WASHER

- Thrust

5шт.

16

H296293

BUSHING

- Flange

4шт.

17

H296210

Shaft - Counter

1шт.

18

H296202

DRIVE SPROCKET

Sprocket (10 Teeth)

1шт.

19

H296228

GEAR WHEEL

Gear - Bevel (42 Teeth & 15 Teeth Spur Gear)

1шт.

20

H372870

GEAR WHEEL

Gear - Spur (20 Teeth)

1шт.

21

H372888

GEAR WHEEL

Gear - Spur (25 Teeth)

1шт.

22

H372896

GEAR WHEEL

Gear - Spur (30 Teeth)

1шт.

23

H372912

SPACER

1шт.

24

H756973

CHAIN (AG)

Chain #41 (22 Links)

1шт.

25

H640656

FORK TEDDER

Rod & Fork Assy - Shifter

1шт.

26

H296269

SHAFT

- Input

1шт.

27

A36508

BEARING

- Needle

2шт.

28

H296277

GEAR WHEEL

Bevel Pinion - Input

1шт.

29

G46176

SNAP RING,#56, Ext

Ring, Snap, #56, Ext

1шт.

30

C19347

RING, SNAP

Ring - Retainer

1шт.

31

211-309

BALL

Steel Ball (5/16)

1шт.

32

H296301

Spring

1шт.

33

178-53

SET SCREW,Hex Soc, 3/8"-16 x 3/8"

Screw - Set (3/8 x 3/8)

1шт.

34

13-420

BOLT,Hex, 1/4" - 20 x 1-1/4", Gr 5

(Taptite) Hex, 1/4"-20 x 1 1/4", G5

4шт.

35

H310011

Plug

1шт.

36

218-5005

O-RING,0.078" Thk x 0.468" ID, -906, Cl 6, 90 Duro

6-1, 90 Duro, .468" ID x .078" Thk

1шт.

Выбрано товаров: 36