Запчасти Case 360 (9-036) - CRUMBER BOOM MOUNTING BRACKET (09) - CHASSIS/ATTACHMENTS

Схема запчастей Case 360 - (9-036) - CRUMBER BOOM MOUNTING BRACKET (09) - CHASSIS/ATTACHMENTS
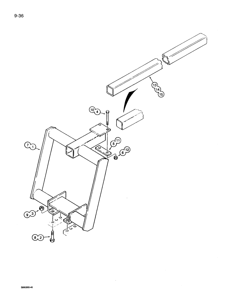
1
14
6
5
2
3
8
10
4
9
13
7
11
15
12
FIT
1:1
100%

Артикул

Название

Примечание

Количество

1

H648279

SUPPORT

boom, crumber attachment, uniboom, Incl. 321-6259 decal, see Fig. 9-1410 for decal MODELS WITH CRUMBER

1шт.

2

413-1040

BOLT,Hex, 5/8" - 11 x 2-1/2", Gr 5

Models with Crumber

4шт.

3

232-41110

NUT,5/8"-11, GC

Models with Crumber

4шт.

4

413-872

BOLT,Hex, 1/2" - 13 x 4-1/2", Gr 5

hex, 1/2 NC x 4-1/2 inch MODELS WITH CRUMBER

2шт.

5

H309450

SPACER

retainer MODELS WITH CRUMBER

1шт.

6

232-4118

NUT,1/2"-13, GC

Models with crumber

2шт.

7

H648279

SUPPORT

digging chain guard mounting, Incl. 321-6259 decal, see Fig. 9-140 for decal MODELS WITH CRUMBER

1шт.

8

413-1040

BOLT,Hex, 5/8" - 11 x 2-1/2", Gr 5

Models without Crumber

4шт.

9

232-41110

NUT,5/8"-11, GC

Models with Crumber

4шт.

10

413-872

BOLT,Hex, 1/2" - 13 x 4-1/2", Gr 5

hex, 1/2 NC x 4-1/2 inch MODELS WITHOUT CRUMBER

2шт.

11

H309450

SPACER

retainer MODELS WITHOUT CRUMBER

1шт.

12

232-4118

NUT,1/2"-13, GC

Models without crumber

2шт.

13

H672302

BAR

digging chain, trencher, used on models with 3 foot uniboom, Incl. 321-6260 decal, see Fig. 9-140 for decal MODELS WITHOUT CRUMBER

1шт.

14

H429118

SAFETY BELT

digging chain, trencher, used on models with 4 foot uniboom, without decal, if decal is required, order 321-6687 decal on Fig. 9-140 MODELS WITHOUT CRUMBER

1шт.

15

H672675

GUARD

digging chain, trencher, used on models with 5 foot uniboom, Incl. 321-6260 decal, see Fig. 9-140 for decal MODELS WITHOUT CRUMBER

1шт.

Выбрано товаров: 0