Запчасти Case 360 (9-064) - BACKHOE BUCKETS - STANDARD BUCKETS (09) - CHASSIS/ATTACHMENTS

Схема запчастей Case 360 - (9-064) - BACKHOE BUCKETS - STANDARD BUCKETS (09) - CHASSIS/ATTACHMENTS
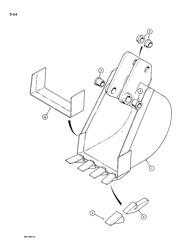
6
3
3
2
1
5
4
FIT
1:1
100%

Артикул

Название

Примечание

Количество

1

H905158

BUCKET

BUCKET ASSEMBLY - 12" (305 mm), machinery item, order from the Machinery Price List, Includes: Ref. 2 - 6

1шт.

2

H50823

BUSHING

cylinder pin

2шт.

3

H56184

BUSHING,29.08mm ID x 44.5mm OD x 28.6mm L

bucket pivot

2шт.

4

H36657

TOOTH

SHANK - tooth

4шт.

5

T41166

TOOTH

POINT - tooth

4шт.

6

H51565

EDGE, CUTTING

12" (305 mm) bucket

1шт.

1

H905166

BUCKET

16" (406 mm), machinery item, order from the Machinery Price List, Incl. Ref. 2 - 6

1шт.

2

H50823

BUSHING

cylinder pin

2шт.

3

H56184

BUSHING,29.08mm ID x 44.5mm OD x 28.6mm L

bucket pivot

2шт.

4

H36657

TOOTH

SHANK - tooth

4шт.

5

T41166

TOOTH

POINT - tooth

4шт.

6

H51615

EDGE, CUTTING

16" (406 mm) bucket

1шт.

1

H513606

BUCKET ASSEMBLY - 20" (508 mm), machinery item, order from the Machinery Price List, Includes: Ref. 2 - 6

1шт.

2

H50823

BUSHING

cylinder pin

2шт.

3

H56184

BUSHING,29.08mm ID x 44.5mm OD x 28.6mm L

bucket pivot

2шт.

4

H36657

TOOTH

SHANK - tooth

4шт.

5

T41166

TOOTH

POINT - tooth

4шт.

6

H51664

EDGE, CUTTING

20" (508 mm) bucket

1шт.

1

H905182

BUCKET ASSEMBLY - 24" (610 mm), machinery item, order from the Machinery Price List, Includes: Ref. 2 - 6

1шт.

2

H50823

BUSHING

cylinder pin

2шт.

3

H56184

BUSHING,29.08mm ID x 44.5mm OD x 28.6mm L

bucket pivot

2шт.

4

H36657

TOOTH

SHANK - tooth

4шт.

5

T41166

TOOTH

POINT - tooth

4шт.

6

H50781

HALF BLADE

PLATE - cutting edge, 24" (610 mm) bucket

1шт.

Выбрано товаров: 24