Запчасти Case 460 (8-020) - ATTACHMENT CONTROL VALVE ASSEMBLY, H674409 (08) - HYDRAULICS

Схема запчастей Case 460 - (8-020) - ATTACHMENT CONTROL VALVE ASSEMBLY, H674409 (08) - HYDRAULICS
1
2
6
2
4
5
3
3
2
3
2
7
8
1
FIT
1:1
100%

Артикул

Название

Примечание

Количество

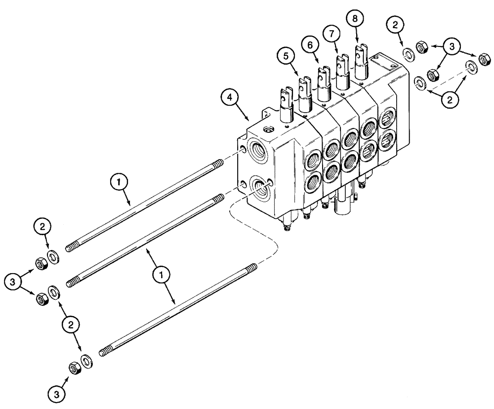
H674409

VALVE

ASSEMBLY - control, attachement control, five-spool, includes parts listed on figures 8-20 - 8-28, includes: Refs. 1 - 8

1шт.

1

100411A1

ROD

- tie, valve sections

3шт.

2

101492A1

WASHER

- flat, special

6шт.

3

425-115

NUT,5/16"-24, G5

- hex, 5/16 inch NF

6шт.

4

100413A1

KNIFE SECTION

SECTION ASSEMBLY - outlet and blade angle, control valve, parts list figure 8-28

1шт.

5

100414A1

KNIFE SECTION

SECTION ASSEMBLY - auxiliary, parts list figure 8-26

1шт.

6

100414A1

KNIFE SECTION

SECTION ASSEMBLY - attachment lift, parts list figure 8-26

1шт.

7

100415A1

KNIFE SECTION

SECTION ASSEMBLY - blade lift, parts list figure 8-24

1шт.

8

100412A1

KNIFE SECTION

SECTION ASSEMBLY - inlet and blade tilt, control valve, parts list figure 8-22

1шт.

Выбрано товаров: 9