Запчасти Case 460 (8-030) - BACKFILL BLADE HYD. CIRCUIT, ATTACHMENT CONTROL VALVE TO BLADE ANGLE CYL., FOUR-WAY BACKFILL BLADE (08) - HYDRAULICS

Схема запчастей Case 460 - (8-030) - BACKFILL BLADE HYD. CIRCUIT, ATTACHMENT CONTROL VALVE TO BLADE ANGLE CYL., FOUR-WAY BACKFILL BLADE (08) - HYDRAULICS
9
9
4
10
5
3
9
2
7
11
1
13
8
12
10
9
14
11
6
FIT
1:1
100%

Артикул

Название

Примечание

Количество

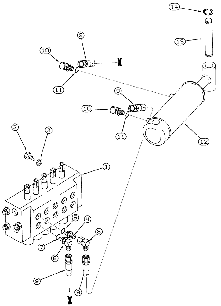
1

H674409

VALVE

ASSEMBLY - control, attachment and rear steering, parts list figures 8-20 - 8-28

1шт.

2

414-512

BOLT,Hex, 5/16" - 24 x 3/4", Gr 5

3шт.

3

496-11034

WASHER,11/32" x 11/16" x 1/16", HDN

- flat, 11/32 x 11/16 x 1/16 inch, hardened

3шт.

4

218-5058

HYD CONNECTOR,9/16" - 18 Male JIC x 3/4" - 18 Male ORB

ADAPTER - straight, 9/16-18 flare x 3/4-16 inch O-ring boss, includes: Ref. 5

1шт.

5

237-6008

O-RING,0.087" Thk x 0.644" ID, -908, Cl 6, 90 Duro

8-1, 90 Duro, .644" ID x .087" Thk

1шт.

6

218-5128

ELBOW,90° Elbow, 9/16" - 18 Male JIC x 3/4" - 16 Male ORB

- 90 degree, 9/16-18 flare x 3/4-16 inch adj O-ring boss, Incl. Ref. 7

1шт.

7

237-6008

O-RING,0.087" Thk x 0.644" ID, -908, Cl 6, 90 Duro

8-1, 90 Duro, .644" ID x .087" Thk

1шт.

8

218-980

ELBOW,90 Degree, 9/16"-18, 37 Degree x 9/16"-18, 37 Degree Fem Sw

- 90 degree, 9/16-18 inch flare x swivel

1шт.

9

107622A1

HOSE

- 2426 mm (95-1/2 inch) long, attachment control valve to backfill blade angle cylinder

2шт.

10

218-5105

ELBOW,90 Degree Elbow, 9/16" - 18 Male JIC x 9/16" - 18 Male ORB

- 90 degree, 9/16-18 inch flare x adj O-ring boss, includes: Ref. 11

2шт.

12

103989A1

CYLINDER

ASSEMBLY - 63.5 (2-1/2) ID x 203 mm (8 inch) stroke, backfill blade angle, parts list figure 8-40

1шт.

13

103990A1

PIN

- mounting, angle cylinder to pivot bracket

2шт.

14

100-1698

SNAP RING,#98, Ext

Ring, Snap, , Pin #98, Ext

4шт.

11

237-6006

O-RING,0.078" Thk x 0.468" ID, -906, Cl 6, 90 Duro

6-1, 90 Duro, .468" ID x .078" Thk

1шт.

Выбрано товаров: 14