Запчасти Case 460 (2-10) - ENGINE MOUNTING (02) - ENGINE

Схема запчастей Case 460 - (2-10) - ENGINE MOUNTING (02) - ENGINE
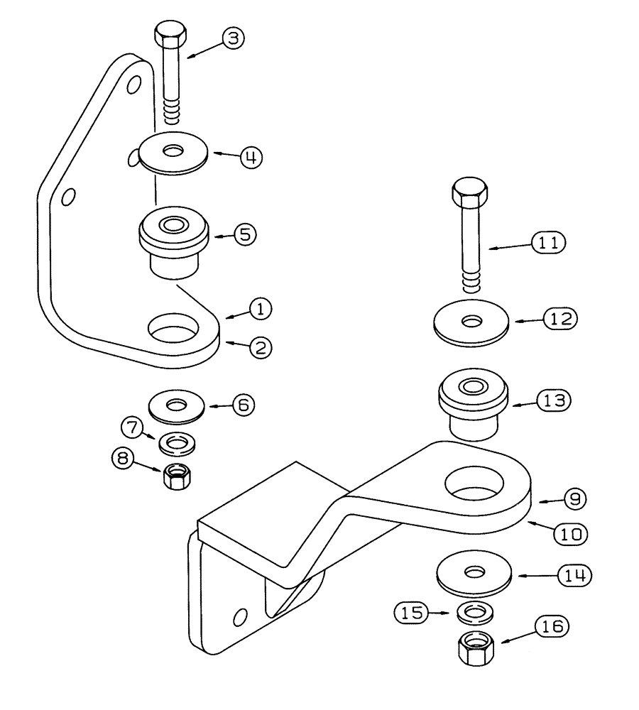
3
1
5
13
4
14
10
6
2
9
16
12
7
15
8
11
FIT
1:1
100%

Артикул

Название

Примечание

Количество

111088A2

ENGINE

ASSEMBLY - Kubota V1505-B, parts list figures 2-12 - 2-38 and 3-8 - 3-22

1шт.

1

117043A1

SHOCK ABSORBER

MOUNT - engine, front, right-hand

1шт.

2

117044A1

MOUNTING PARTS

MOUNT - engine, front, left-hand

1шт.

3

413-840

BOLT,Hex, 1/2" - 13 x 2-1/2", Gr 5

- hex, 1/2 NC x 2-1/2 inch

2шт.

4

B15606

WASHER

- flat, special

2шт.

5

H426395

MOUNTING PARTS

MOUNT - engine isolation

2шт.

6

D64050

WASHER

- flat, special, 1/2 inch

2шт.

7

496-21053

WASHER,17/32" x 1 1/16" x .134"

- flat, 17/32 x 1-1/16 x 1/8 inch, hardened

2шт.

8

232-4118

NUT,1/2"-13, GC

NUT, LOCK, 1/2"-13, GC

2шт.

9

117040A1

SHOCK ABSORBER

MOUNT - engine, rear, right-hand

1шт.

10

117041A1

MOUNTING PARTS

MOUNT - engine, rear, left-hand

1шт.

11

413-844

BOLT,Hex, 1/2" - 13 x 2-3/4", Gr 5

- hex, 1/2 NC x 2-3/4 inch

2шт.

12

496-81018

WASHER,0.521" ID x 2" OD x 0.108 Thk, ZND

- flat, 33/64 x 2 x 1/8 inch, hardened

2шт.

13

D137185

MOUNTING PARTS

INSULATOR - engine mount

2шт.

14

496-81018

WASHER,0.521" ID x 2" OD x 0.108 Thk, ZND

- flat, 33/64 x 2 x 1/8 inch, hardened

2шт.

15

496-21053

WASHER,17/32" x 1 1/16" x .134"

- flat, 17/32 x 1-1/16 x 1/8 inch, hardened

2шт.

16

232-4118

NUT,1/2"-13, GC

NUT, LOCK, 1/2"-13, GC

2шт.

Выбрано товаров: 17