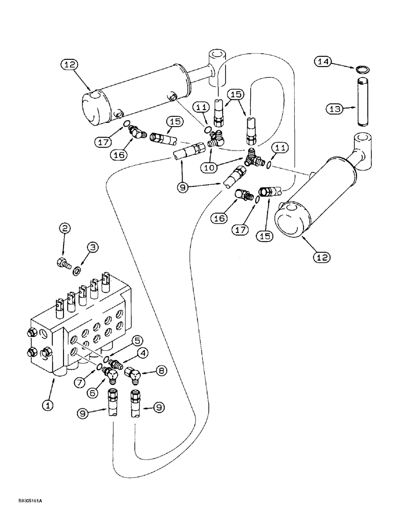
Запчасти Case 560 (8-034) - BACKFILL BLADE HYDRAULIC CIRCUIT, ATTACHMENT CONTROL VALVE TO BACKFILL BLADE ANGLE CYLINDERS (08) - HYDRAULICS

Схема запчастей Case 560 - (8-034) - BACKFILL BLADE HYDRAULIC CIRCUIT, ATTACHMENT CONTROL VALVE TO BACKFILL BLADE ANGLE CYLINDERS (08) - HYDRAULICS
14
8
7
2
16
9
16
6
9
3
1
5
15
15
15
4
17
12
12
10
9
11
11
17
13
FIT
1:1
100%

Артикул

Название

Примечание

Количество

1

H674409

VALVE

ASSEMBLY - control, attachment and rear steering, parts list Figures 8-20 - 8-28

1шт.

2

414-512

BOLT,Hex, 5/16" - 24 x 3/4", Gr 5

3шт.

3

H426775

WASHER

- flat, special, hardened

3шт.

4

218-5058

HYD CONNECTOR,9/16" - 18 Male JIC x 3/4" - 18 Male ORB

ADAPTER - straight, 9/16-18 flare x 3/4-16 inch O-ring boss, Includes: Ref. 5

1шт.

5

237-6008

O-RING,0.087" Thk x 0.644" ID, -908, Cl 6, 90 Duro

8-1, 90 Duro, .644" ID x .087" Thk

1шт.

6

218-5128

ELBOW,90° Elbow, 9/16" - 18 Male JIC x 3/4" - 16 Male ORB

- 90 degree, 9/16-18 flare x 3/4-16 inch adj O-ring boss, Incl. Ref. 7

1шт.

7

237-6008

O-RING,0.087" Thk x 0.644" ID, -908, Cl 6, 90 Duro

8-1, 90 Duro, .644" ID x .087" Thk

1шт.

8

218-980

ELBOW,90 Degree, 9/16"-18, 37 Degree x 9/16"-18, 37 Degree Fem Sw

- 90 degree, 9/16-18 inch flare x swivel

1шт.

9

107622A1

HOSE

- 2426 mm (95-1/2 inch) long, attachment control valve to backfill blade angle cylinder, rod end

2шт.

10

L104616

TEE,9/16" - 18 JIC x 9/16" - 18 JIC x 9/16" - 18 ORB

ELBOW, 90, , Special, O-ring branch x flare x flare, Incl. Ref. 11 9/16"-18 x 9/16"-18 ORB

2шт.

12

103989A1

CYLINDER

ASSEMBLY - 63.5 (2-1/2) ID x 203 mm (8 inch) stroke, parts list Figure 8-40

2шт.

13

103990A1

PIN

- mounting, angle cylinder to pivot bracket

4шт.

14

100-1698

SNAP RING,#98, Ext

Ring, Snap, #98, Ext

8шт.

15

107623A1

HOSE

- 560 mm (22 inch) long, backfill blade angle cylinder, rod end tee to elbow at backfill blade angle cylinder, closed end

2шт.

16

218-5105

ELBOW,90 Degree Elbow, 9/16" - 18 Male JIC x 9/16" - 18 Male ORB

- 90 degree, 9/16-18 inch flare x adj O-ring boss, Includes: Ref. 17

2шт.

11

237-6006

O-RING,0.078" Thk x 0.468" ID, -906, Cl 6, 90 Duro

6-1, 90 Duro, .468" ID x .078" Thk

1шт.

17

237-6006

O-RING,0.078" Thk x 0.468" ID, -906, Cl 6, 90 Duro

6-1, 90 Duro, .468" ID x .078" Thk

1шт.

Выбрано товаров: 17