Запчасти Case 560 (8-156) - HYDRA-BORER MOTOR HYDRAULIC CIRCUIT (08) - HYDRAULICS

Схема запчастей Case 560 - (8-156) - HYDRA-BORER MOTOR HYDRAULIC CIRCUIT (08) - HYDRAULICS
7
13
14
7
12
1
8
3
9
6
8
2
13
8
10
4
5
8
11
6
10
4
9
4
4
FIT
1:1
100%

Артикул

Название

Примечание

Количество

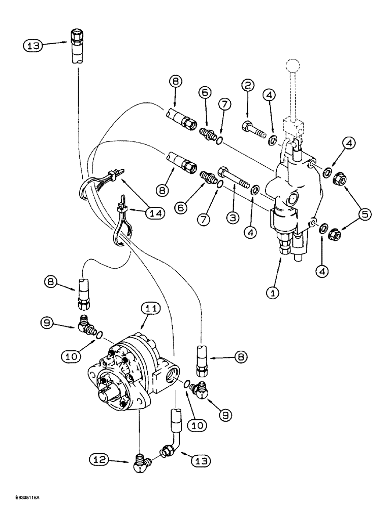
1

107081A1

VALVE

ASSEMBLY - control, Hydra-Borer or hydraulic tool, parts list Figure 8-162

1шт.

2

413-536

BOLT,Hex, 5/16" - 18 x 2-1/4", Gr 5

- hex, 5/16 NC x 2-1/4 inch

1шт.

3

413-540

BOLT,Hex, 5/16" - 18 x 2-1/2", Gr 5

1шт.

4

H426775

WASHER

- flat, special, hardened

4шт.

5

231-5145

SERRATED NUT,Flg, USR, 5/16"-18

NUT - hex serrated flange, 5/16 inch NC

2шт.

6

218-5062

HYD CONNECTOR,7/8"-14, 37 Degree x 7/8"-14, O-Ring

ADAPTER - straight, 7/8-14 inch flare x O-ring boss, Includes: Ref. 7

2шт.

7

237-6010

O-RING,0.097" Thk x 0.755" ID, -910, Cl 6, 90 Duro

10-1, 90 Duro, .755" ID x .097" Thk

1шт.

8

D20358

HOSE

- 1168 mm (46 inch) long, control valve to Hydra-Borer drive motor

2шт.

9

218-5107

90 ELBOW,90 Degree Elbow, 7/8" - 14 Male JIC x 7/8" - 14 Male ORB

- 90 degree, 7/8-14 inch flare x adj O-ring boss, Incl. Ref. 10

2шт.

10

237-6010

O-RING,0.097" Thk x 0.755" ID, -910, Cl 6, 90 Duro

10-1, 90 Duro, .755" ID x .097" Thk

1шт.

11

H654814

MOTOR

ASSEMBLY - hydraulic, Hydra-Borer, parts list Figure 8-158, see Figure 9-98 for mounting

1шт.

12

218-483

ELBOW,90 Degree Elbow, 9/16" - 18 Male JIC x 1/4" - 18 Male NPTF

- 90 degree, 9/16-18 flare x 1/4 inch PT

1шт.

13

H438496

HOSE

- 1380 mm (54-5/16 inch) long, motor case drain to return tee at valve

1шт.

14

L18337

CABLE TIE,9.95"-12.1" lg

STRAP - tie, 15 inch, nylon, retaining

2шт.

Выбрано товаров: 14