Запчасти Case 560 (9-028) - BACKHOE STABILIZERS, D100 BACKHOE (09) - CHASSIS/ATTACHMENTS

Схема запчастей Case 560 - (9-028) - BACKHOE STABILIZERS, D100 BACKHOE (09) - CHASSIS/ATTACHMENTS
16
6
6
2
10
12
14
8
14
4
3
11
15
11
16
7
1
5
2
9
8
FIT
1:1
100%

Артикул

Название

Примечание

Количество

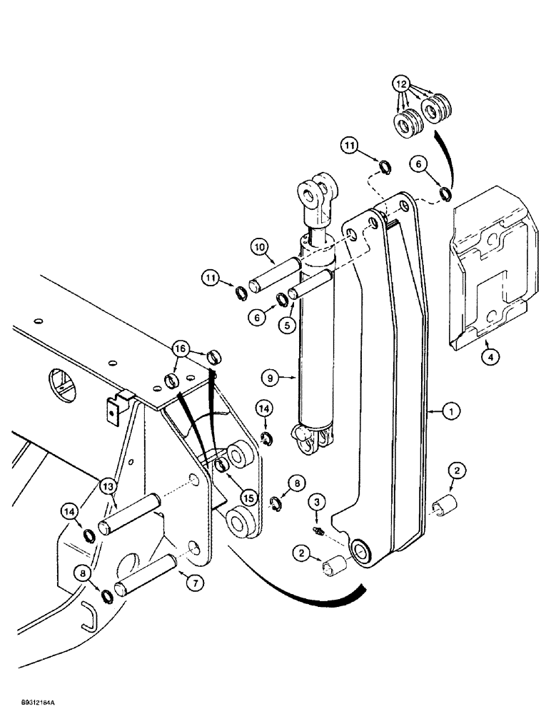
116999A1

ARM ASSY.

ARM ASSEMBLY - stabilizer, Includes: Ref. 1 and 2

2шт.

1

NSS

NOT SOLD SEPARAT

ARM - stabilizer

1шт.

2

H56192

BUSHING,28.91mm ID x 36.63mm OD x 44.45mm L

- stabilizer arm

2шт.

3

219-8

LUBE NIPPLE,1/4" - 28 NPTF

NIPPLE, LUBE, , straight, taper 1/4"-28 NPT x .54" lg

2шт.

4

H434430

LARGE PLATE

PAD - stabilizer cast

2шт.

5

H434379

PIN,28.63mm OD x 151mm L

- stabilizer pad

2шт.

6

100-16112

SNAP RING,#112, Ext

Ring, Snap, , Stabilizer pad pin #112, Ext

4шт.

7

H434382

PIN,38.15mm OD x 204mm L

- mounting, stabilizer, Serial Range: pin-frame

2шт.

8

D25279

SNAP RING,M35, Int

RING - snap, stabilizer pin arm

4шт.

9

101643A1

CYLINDER ASSY.,Double Acting, 35.1mm Rod, 406.4mm Stroke

CYLINDER ASSEMBLY - 76 (3) ID x 406 mm (16 inch) stroke, stabilizer, parts list Figure 8-100

2шт.

10

H434380

PIN

- cylinder to stabilizer arm

2шт.

11

103-16125

SNAP RING,#125, Ext

Ring, Snap, , Cylinder to stabilizer arm pin #125, Ext

4шт.

12

495-21138

WASHER,1 1/4"

- flat, 1-3/8 x 3 x 5/32 inch

1шт.

13

H434381

PIN,31.8mm OD x 31.8mm L

- mounting, Serial Range: cylinder-frame

2шт.

14

103-16125

SNAP RING,#125, Ext

Ring, Snap, , Cylinder to frame pin #125, Ext

4шт.

15

H434394

SPACER

- 37 x 42 x 19 mm, cylinder to frame, if used, replaced by (4) 103502A1 spacers

2шт.

16

103502A1

SPECIAL NUT

SPACER - 38.5 x 42 x 23 mm, Serial Range: cylinder-frame

4шт.

Выбрано товаров: 17