Запчасти Case 560 (9-070) - TRENCHER BOOMS AND MOUNTING (09) - CHASSIS/ATTACHMENTS

Схема запчастей Case 560 - (9-070) - TRENCHER BOOMS AND MOUNTING (09) - CHASSIS/ATTACHMENTS
1
10
4
8
3
12
2
13
11
5
9
6
7
10
FIT
1:1
100%

Артикул

Название

Примечание

Количество

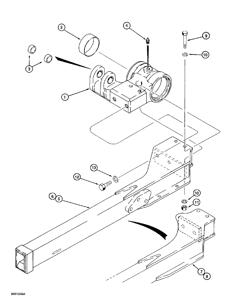
1

116743A1

ANCHOR

BRACKET - mounting, trencher boom mounting, planetary drive trencher, see Figure 9-64 for direct drive trencher housing and boom mounting bracket, Includes: Ref. 2 and 3

1шт.

2

H437509

BUSHING

- nylon, boom pivot

2шт.

3

D31140

BUSHING,38.33mm ID x 47.63mm OD x 25.4mm L

- 25 mm (1 inch) long, bracket, lift cylinder pivot

2шт.

4

219-86

LUBE NIPPLE,1/8" NPTF

FITTING - grease, straight, self-tap 1/8 PT x 5/8 inch, lube

1шт.

5

113119A1

BOOM

- trencher, 4 foot, planetary drive trencher, see note A

1шт.

5

135212A1

BOOM

- trencher, 4 foot, planetary drive trencher, see note B

1шт.

6

113120A1

BOOM

- trencher, 5 foot, planetary drive trencher, see note A

1шт.

6

135213A1

BOOM

- trencher, 5 foot, planetary drive trencher, see note B

1шт.

6a

113121A1

BOOM

- trencher, 6 foot, planetary drive trencher, see note A, not shown

1шт.

6a

135214A1

BOOM

- trencher, 6 foot, planetary drive trencher, see note B, not shown

1шт.

7

135203A1

BOOM

- trencher, 4 foot, direct drive trencher, see note B

1шт.

8

135204A1

BOOM

- trencher, 5 foot, direct drive trencher, see note B

1шт.

9

426-12104

BOLT,Hex, 3/4" - 10 x 6-1/2", Gr 8

- hex, 3/4 NC x 6-1/2 inch, grade 8

2шт.

10

D34666

WASHER,33.34mm ID x 63.5mm OD x 2.38mm Thk

- flat, special, 3/4 inch

2шт.

11

232-41112

NUT,3/4"-10, GC

NUT, LOCK, 3/4"-10, GC

2шт.

12

426-1632

BOLT,Hex, 1" - 8 x 2", Gr 8

- hex, 1 NC x 2 inch, grade 8

2шт.

13

D36505

WASHER,26.99mm ID x 47.63mm OD x 2.38mm Thk

- flat, special, 1-1/16 x 1-7/8 x 9/64 inch

2шт.

Выбрано товаров: 17