Запчасти Case 560 (9-080) - STANDARD DIGGING CHAINS, 50,000 POUND CHAINLINE, FOR 4 FOOT DIGGING DEPTH BOOM (09) - CHASSIS/ATTACHMENTS

Схема запчастей Case 560 - (9-080) - STANDARD DIGGING CHAINS, 50,000 POUND CHAINLINE, FOR 4 FOOT DIGGING DEPTH BOOM (09) - CHASSIS/ATTACHMENTS
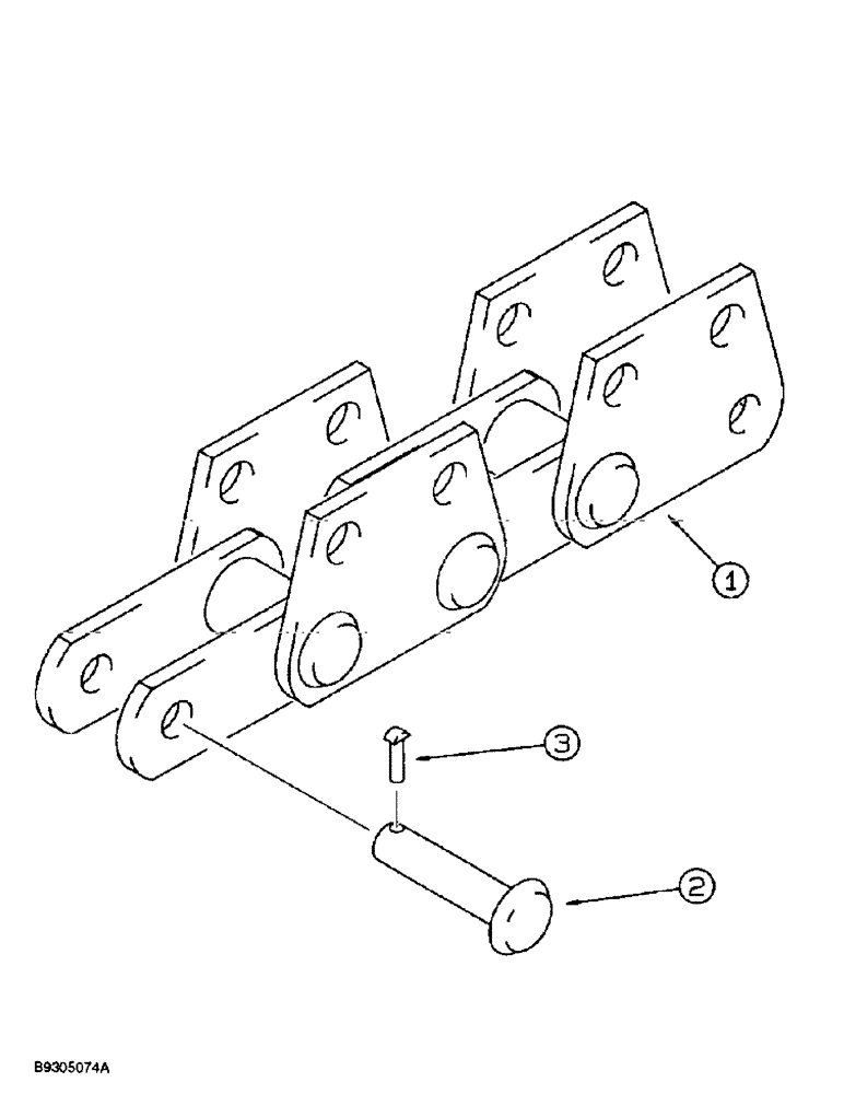
3
2
1
FIT
1:1
100%

Артикул

Название

Примечание

Количество

111500A1

CHAIN ASSEMBLY - digging, standard, NSS, not available for service, order individual components, 72 pitches, Includes: Ref. 1 - 3, FOR 4 FOOT DIGGING BOOM

1шт.

1

H542068

CHAIN (CE)

CHAIN ASSEMBLY - digging, standard, 48 pitches, Includes: Ref. 2 and 3

1шт.

1

H538512

CHAIN (CE)

CHAIN ASSEMBLY - digging, standard, 10 pitches, Includes: Ref. 2 and 3

2шт.

1

H543983

CHAIN (CE)

CHAIN ASSEMBLY - digging, standard, 2 pitches, Includes: Ref. 2 and 3

2шт.

2

H145011

AXLE PIN

PIN - connector

1шт.

3

H170399

LOCK PIN

PIN - pin retaining, chain

1шт.

111500A1

CHAIN ASSEMBLY - digging, standard, NSS, not available for service, order individual components, 72 pitches, Includes: Ref. 1 - 3, FOR 5 FOOT DIGGING BOOM

1шт.

1

H542068

CHAIN (CE)

CHAIN ASSEMBLY - digging, standard, 48 pitches, Includes: Ref. 2 and 3

1шт.

1

H538512

CHAIN (CE)

CHAIN ASSEMBLY - digging, standard, 10 pitches, Includes: Ref. 2 and 3

2шт.

1

H543983

CHAIN (CE)

CHAIN ASSEMBLY - digging, standard, 2 pitches, Includes: Ref. 2 and 3

2шт.

2

H145011

AXLE PIN

PIN - connector

1шт.

3

H170399

LOCK PIN

PIN - pin retaining, chain

1шт.

H939338

CHAIN (CE)

CHAIN ASSEMBLY - digging, standard, NSS, not available for service, order individual components, 10 pitches, Includes: Ref. 1 - 3, FOR 5 FOOT DIGGING BOOM

1шт.

1

H538512

CHAIN (CE)

CHAIN ASSEMBLY - digging, standard, 10 pitches, Includes: Ref. 2 and 3

1шт.

2

102501A1

PIN

- connector

1шт.

3

H297655

AXLE PIN

PIN - pin retaining, chain

1шт.

111500A1

CHAIN ASSEMBLY - digging, standard, NSS, not available for service, order individual components, 72 pitches, Includes: Ref. 1 - 3, FOR 6 FOOT DIGGING BOOM

1шт.

1

H542068

CHAIN (CE)

CHAIN ASSEMBLY - digging, standard, 48 pitches, Includes: Ref. 2 and 3

1шт.

1

H538512

CHAIN (CE)

CHAIN ASSEMBLY - digging, standard, 10 pitches, Includes: Ref. 2 and 3

2шт.

1

H543983

CHAIN (CE)

CHAIN ASSEMBLY - digging, standard, 2 pitches, Includes: Ref. 2 and 3

2шт.

2

H145011

AXLE PIN

PIN - connector

1шт.

3

H170399

LOCK PIN

PIN - pin retaining, chain

1шт.

H939338

CHAIN (CE)

CHAIN ASSEMBLY - digging, standard, NSS, not available for service, order individual components, 10 pitches, Includes: Ref. 1 - 3, FOR 6 FOOT DIGGING BOOM

2шт.

1

H538512

CHAIN (CE)

CHAIN ASSEMBLY - digging, standard, 10 pitches, Includes: Ref. 2 and 3

1шт.

2

102501A1

PIN

- connector

1шт.

3

H297655

AXLE PIN

PIN - pin retaining, chain

1шт.

Выбрано товаров: 26