Запчасти Case 660 (8-085E) - CRUMBER HYDRAULIC CIRCUIT (08) - HYDRAULICS

Схема запчастей Case 660 - (8-085E) - CRUMBER HYDRAULIC CIRCUIT (08) - HYDRAULICS
21
10
13
15
14
17
7
19
8
16
12
21
4
20
17
3
16
19
17
18
22
2
20
20
14
11
6
23
16
18
18
1
9
16
15
17
13
5
22
18
20
FIT
1:1
100%

Артикул

Название

Примечание

Количество

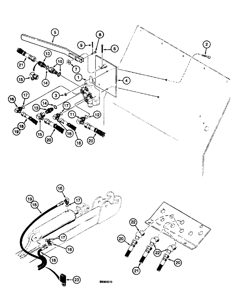
1

H674465

VALVE

ASSEMBLY - auxiliary controle, crumber, parts list Fig. 8-85I

1шт.

For 4 and 6 foot crumber booms use (2) Ref. 18 hoses. For 5 foot crumber boom use (1) Ref. 18 and (1) Ref. 19 hose.

1шт.

2

413-548

BOLT,Hex, 5/16" - 18 x 3", Gr 5

- hex, 5/16 NC x 3 inch

2шт.

3

232-4115

LOCK NUT,5/16"-18, GC

NUT, LOCK, 5/16"-18, GC

2шт.

4

105686A1

PLATE

- valve mounting

1шт.

5

105548A1

HANDLE

LEVER - control, valve

1шт.

6

432-620

COTTER PIN,3/32" x 1 1/4"

3/32" x 1 1/4"

1шт.

7

H274894

WASHER

- flat, special

1шт.

8

427-3103

CLEVIS PIN,4.78mm OD x 26.19mm L

PIN - clevis, 3/16 x 1-1/32 inch, hardened

1шт.

9

432-416

COTTER PIN,1/16" x 1"

1/16" x 1"

1шт.

10

H436154

FITTING,7/8" - 14

ADAPTER - power beyond

1шт.

11

218-5107

90 ELBOW,90 Degree Elbow, 7/8" - 14 Male JIC x 7/8" - 14 Male ORB

- 90 degree, 7/8-14 inch flare x adj O-ring boss, Incl. Ref 12

1шт.

12

237-6010

O-RING,0.097" Thk x 0.755" ID, -910, Cl 6, 90 Duro

10-1, 90 Duro, .755" ID x .097" Thk

1шт.

13

218-5062

HYD CONNECTOR,7/8"-14, 37 Degree x 7/8"-14, O-Ring

ADAPTER - straight, 7-8/14 inch flare x O-ring boss, Includes: Ref. 14

2шт.

14

237-6010

O-RING,0.097" Thk x 0.755" ID, -910, Cl 6, 90 Duro

10-1, 90 Duro, .755" ID x .097" Thk

1шт.

15

218-5232

ELBOW,90 Degree, 7/8"-14, 37 Degree x 7/8"-14, 37 Degree Fem Sw

- 90 degree, 7/8-14 inch flare x swivel

1шт.

16

218-5128

ELBOW,90° Elbow, 9/16" - 18 Male JIC x 3/4" - 16 Male ORB

- 90 degree 9/16-18 flare x 3/4-16 inch adj O-ring boss, Incl. Ref 17

4шт.

17

237-6008

O-RING,0.087" Thk x 0.644" ID, -908, Cl 6, 90 Duro

8-1, 90 Duro, .644" ID x .087" Thk

1шт.

18

105751A1

HOSE

- 2950 mm (116-1/8 inch) long, valve to cylinder (see note)

1шт.

19

105753A1

HOSE

- 3250 mm (128 inch) long, valve to cylinder (see note)

1шт.

20

105799A1

HOSE

- 815 mm (32-1/16 inch) long, supply and return

2шт.

21

105800A1

HOSE

- 450 mm (17-3/4 inch) long, power beyond

1шт.

22

218-5175

ELBOW,45 Degree Elbow, 1-1/16" - 12 Male JIC x 1-1/16" - 12 Female JIC

- 45 degree, 1-1/16-12 inch flare x swivel

3шт.

23

L302731

CLAMP,19mm D Clamping Pipes

- double

1шт.

Выбрано товаров: 24