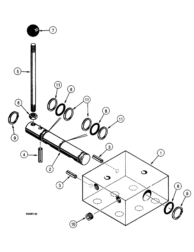
Запчасти Case 660 (8-118) - ATTACHMENT LIFT SELECTOR VALVE - H672689, REEL CARRIER/TRENCHER (08) - HYDRAULICS

Схема запчастей Case 660 - (8-118) - ATTACHMENT LIFT SELECTOR VALVE - H672689, REEL CARRIER/TRENCHER (08) - HYDRAULICS
6
7
1
11
8
8
11
9
3
2
4
3
5
8
10
9
11
FIT
1:1
100%

Артикул

Название

Примечание

Количество

H672689

VALVE

ASSEMBLY - selector, attachment lift, reel carrier/trencher, Includes: Ref. 1 - 11

1шт.

1

NSS

NOT SOLD SEPARAT

HOUSING - valve

1шт.

2

NSS

NOT SOLD SEPARAT

SPOOL - valve

1шт.

3

38-11616

LOCK PIN,1/4" x 1", Slotted

Pin, 1/4" x 1", Slotted

2шт.

4

38-11624

LOCK PIN,1/4" x 1 1/2", Slotted

PIN, 1/4" x 1 1/2", Slotted

1шт.

5

NSS

NOT SOLD SEPARAT

HANDLE - valve

1шт.

6

425-155

JAM NUT,Jam, 5/16"-24, G5

- hex, jam, 5/16 inch NF

1шт.

7

H249839

KNOB

- handle

1шт.

8

238-5115

O-RING,0.103" Thk x 0.674" ID, -115, Cl 5, 75 Duro

3шт.

9

100-1187

SNAP RING,#87, Ext

Ring, Snap, , Spool #87, Ext

2шт.

10

221-841

PLUG

- hex socket, 1/4 inch PT

4шт.

11

223614A1

RING

- backup

4шт.

Выбрано товаров: 12