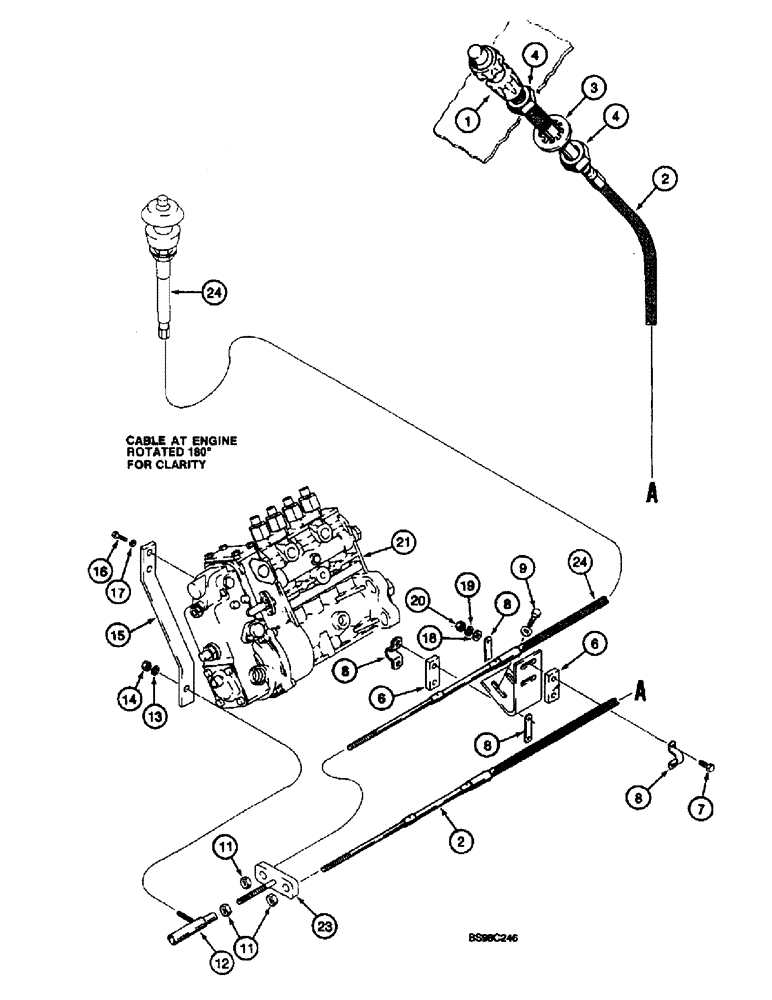
Запчасти Case 660 (3-05E) - THROTTLE & LINKAGE, USED ON MODELS W/ 4-390 EMISSIONS CERTIFIED ENG., W/ J931397 FUEL INJECTION PUMP (03) - FUEL SYSTEM

Схема запчастей Case 660 - (3-05E) - THROTTLE & LINKAGE, USED ON MODELS W/ 4-390 EMISSIONS CERTIFIED ENG., W/ J931397 FUEL INJECTION PUMP (03) - FUEL SYSTEM
11
19
4
12
23
8
11
a
7
6
18
16
4
1
21
8
9
13
8
8
24
2
2
17
24
14
a
15
9
6
20
FIT
1:1
100%

Артикул

Название

Примечание

Количество

102696A1

CABLE

ASSEMBLY - throttle, Includes: Ref. 1 - 4

1шт.

1

NSS

NOT SOLD SEPARAT

LOCK - friction, throttle cable

1шт.

2

NSS

NOT SOLD SEPARAT

CABLE - throttle

1шт.

3

493-21078

LOCK WASHER,Int Tooth, 3/4"

WASHER - internal tooth lock, 3/4 inch

1шт.

4

425-1512

JAM NUT,Jam, 3/4"-10, G5

- hex, jam, 3/4 inch NF

2шт.

5

276168A1

SUPPORT

BRACKET - mounting, throttle cable

1шт.

6

257267A1

PLATE

- shim

2шт.

7

363-11020

SCREW,Hex Hd, #10-24 x 1 1/4"

- machine, hex head, No. 10 NC x 1-1/4 inch

2шт.

8

L12441

CLAMP

- two-piece

2шт.

9

413-412

BOLT,Hex, 1/4" - 20 x 3/4", Gr 5

- hex, 1/4 NC x 3/4 inch

2шт.

10

495-11028

WASHER,1/4", SAE

(flat, 9/32 x 5/8 x 1/16") 1/4", SAE

2шт.

11

225-14210

NUT,#10-32

3шт.

12

278183A1

BALL JOINT

JOINT - ball

1шт.

13

492-11025

LOCK WASHER,1/4"

WASHER, LOCK, 1/4"

1шт.

14

425-114

NUT,1/4"-28, G5

1шт.

15

257107A1

LEVER

- accelerator

1шт.

16

614-6016

BOLT,Hex, M6 x 1 x 16mm, Cl 8.8, Full Thd

2шт.

17

892-11006

LOCK WASHER,M6

WASHER, LOCK, M6

2шт.

18

495-31020

WASHER,#10

flat (13/64" x 15/32" x 3/64") #10

2шт.

19

492-11010

LOCK WASHER,#10

WASHER, LOCK, #10

2шт.

20

225-14110

NUT,#10-24

2шт.

21

J931397

PUMP, FUEL INJECTION

PUMP ASSEMBLY - fuel injection, without aneroid, see Fig. 3-11A

1шт.

23

257177A1

STEM

ROD - throttle

1шт.

24

282115A1

CABLE

- throttle

1шт.

25

321-5288

DECAL

- throttle, installed on hood, not shown

1шт.

Выбрано товаров: 25