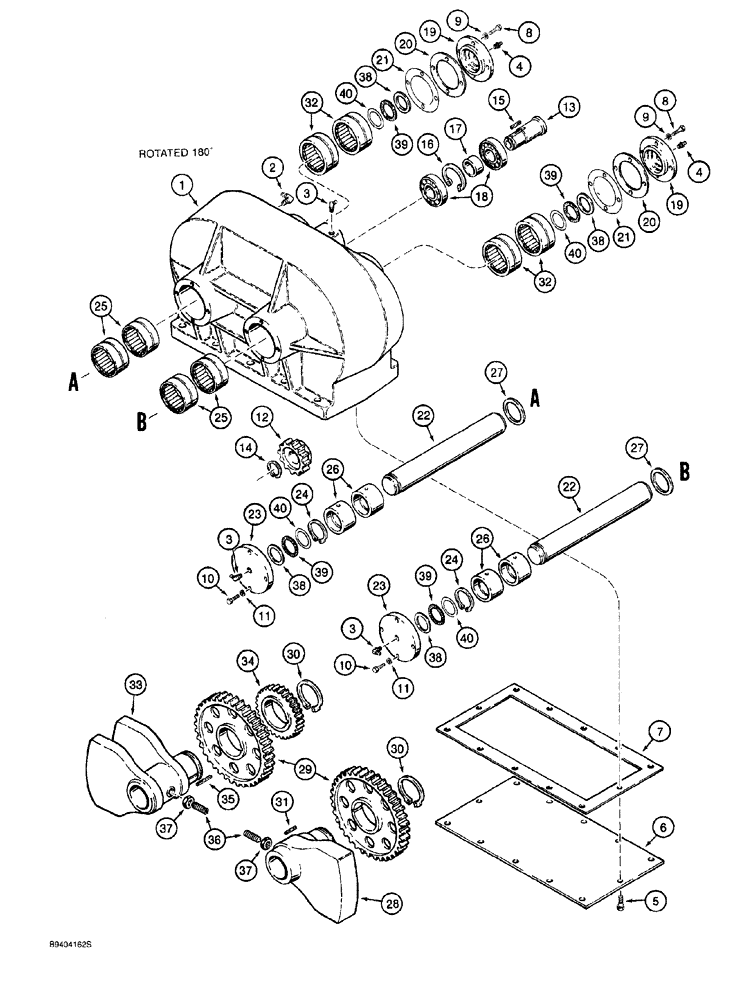
Запчасти Case 760 (09-135A) - PLOW GEARBOX ASSEMBLY - H674911, PLOWS WITH OPEN LIFT CRADLE (89) - TOOLS

Схема запчастей Case 760 - (09-135A) - PLOW GEARBOX ASSEMBLY - H674911, PLOWS WITH OPEN LIFT CRADLE (89) - TOOLS
11
30
8
37
13
36
39
40
38
26
15
4
22
3
14
24
7
19
30
38
32
5
21
9
18
39
33
22
16
19
35
10
2
34
29
32
25
20
24
25
37
27
12
9
40
40
26
23
27
10
17
28
23
38
38
1
40
31
6
4
39
20
3
3
39
21
11
8
FIT
1:1
100%

Артикул

Название

Примечание

Количество

H673466

CASE

GEARBOX ASSEMBLY, plow shaker, Includes: Ref. 1 - 40

1шт.

1

H434378

CASE

HOUSING gearbox

1шт.

2

222-763

ELBOW,90 Degree, 7/16"-20, 45 Degree Fl x 1/4" NPT

90 degree, 7/16-20 45 degree flare x 1/4 inch PT

1шт.

3

219-57

LUBE NIPPLE,90 Degree Elbow, 1/4" - 28 NPTF

90 degree, 1/4-28 taper x 3/4 inch

3шт.

4

219-8

LUBE NIPPLE,1/4" - 28 NPTF

2шт.

5

413-612

BOLT,Hex, 3/8" - 16 x 3/4", Gr 5

2шт.

6

H436310

LARGE PLATE

PLATE, LARGE cover, gearbox housing

1шт.

7

H146464

GASKET

housing

1шт.

8

413-516

BOLT,Hex, 5/16" - 18 x 1", Gr 5

16шт.

9

492-11031

LOCK WASHER,5/16"

8шт.

10

413-520

BOLT,Hex, 5/16" - 18 x 1-1/4", Gr 5

hex, 5/16 NC x 1-1/4 inch

8шт.

11

492-11031

LOCK WASHER,5/16"

8шт.

12

H434401

GEAR

drive

1шт.

13

H434385

DRIVE SHAFT

drive

1шт.

14

100-11150

SNAP RING,#150, Ext

Shaft

1шт.

15

H380030

KEY

square, 1/4 x 1-3/8 inch

1шт.

16

100-21315

SNAP RING,3.156", Int, #315

1шт.

17

H189795

SPACER

bearing

1шт.

18

H753194

BEARING

drive shaft

2шт.

19

H436676

BEARING CAP

CAP bearing, front

2шт.

20

H151779

SHIM,.005" Thk

(0.127 mm)

1шт.

21

H151787

SHIM,.015" Thk

(0.381 mm)

1шт.

22

H436675

SHAFT

bearing

2шт.

23

103329A1

BEARING CAP,89.2 mm ID x 140 mm OD x 20 mm

CAP, rear

2шт.

24

100-18250

SNAP RING,#250, Ext

Bearing

2шт.

25

H759123

ROLLER BEARING

roller, matched set, rear

2шт.

26

H759125

RACE

bearing, set of two

2шт.

27

H147934

SPACER

7/32 inch (5.55 mm) thick, bearing

2шт.

28

H438979

BALANCER

COUNTERWEIGHT single, shaft

1шт.

29

H434403

GEAR

driven, counterweight shaft, vibrator

2шт.

30

100-11325

SNAP RING,#325, Ext

Gear (Replaces 39323)

2шт.

31

H43380

KEY

square, 6.35 x 28.5 mm long

1шт.

32

H759124

ROLLER BEARING

roller, matched set, front

2шт.

33

H438980

BALANCER

COUNTERWEIGHT divided, shaft

1шт.

34

H434402

GEAR

driven

1шт.

35

H434406

KEY

square, 1/4 (6.35) x 2-1/8 (54 mm) long

1шт.

36

83-66232

SET SCREW,Hex Soc, 5/8"-11 x 2"

hex socket headless, 5/8 NC x 2 inch, half dog point

2шт.

37

425-1410

JAM NUT,Jam, 5/8"-11, G5

hex, jam, 5/8 inch NC

2шт.

38

A54021

WASHER

RACE thrust

1шт.

39

A54022

THRUST BEARING,44.56mm ID x 63.13mm OD x 1.98mm W

thrust

4шт.

40

H147785

BEARING WASHER

thrust, 0.031 inch (0.787 mm) thick

1шт.

Выбрано товаров: 41