Запчасти Case 760 (09-138) - UPPER CABLE GUIDE (89) - TOOLS

Схема запчастей Case 760 - (09-138) - UPPER CABLE GUIDE (89) - TOOLS
8
6
6
1
7
5
5
5
4
2
3
FIT
1:1
100%

Артикул

Название

Примечание

Количество

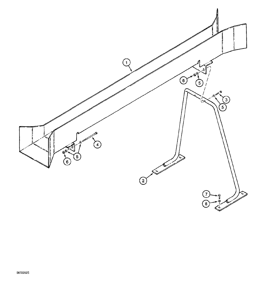
1

H672787

TROUGH

GUIDE cable, upper

1шт.

2

H672798

SUPPORT TUBE,674 mm L

SUPPORT front, cable guide, bolts to hood

1шт.

3

413-632

BOLT,Hex, 3/8" - 16 x 2", Gr 5

2шт.

4

413-692

BOLT,Hex, 3/8" - 16 x 5-3/4", Gr 5

hex, 3/8 NC x 5-3/4 inch

2шт.

5

496-21041

WASHER,13/32" x 13/16" x .089", HDN

8шт.

6

232-4116

NUT,3/8"-16, GC

4шт.

7

413-516

BOLT,Hex, 5/16" - 18 x 1", Gr 5

4шт.

8

H426775

WASHER

flat, special, hardened

4шт.

Выбрано товаров: 8