Запчасти Case 760 (06-004) - GROUND DRIVE CONTROLS, PEDALS (14) - MAIN GEARBOX & DRIVE

Схема запчастей Case 760 - (06-004) - GROUND DRIVE CONTROLS, PEDALS (14) - MAIN GEARBOX & DRIVE
4
8
14
8
33
28
7
7
2
15
31
3
36
17
19
9
25
10
1
32
8
7
21
26
30
5
13
34
23
8
10
20
35
27
22
29
24
7
18
11
12
6
20
10
16
FIT
1:1
100%

Артикул

Название

Примечание

Количество

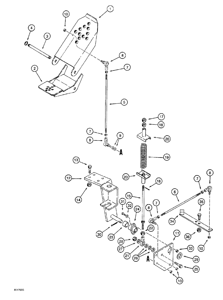
1

H403816

PEDAL

forward ground drive control

1шт.

2

H672181

PEDAL

heel, reverse ground drive control

1шт.

3

H403840

PIN

pivot

1шт.

4

100-1647

SNAP RING,#47, Ext

2шт.

5

H433460

STEM

ROD pedal control

1шт.

6

H433458

STEM

ROD tandem pump control

1шт.

7

425-115

NUT,5/16"-24, G5

4шт.

8

H289652

BALL JOINT,5/16" - 24 x 1-3/8" L

female, 5/16 inch NF, control rod

4шт.

9

495-11034

WASHER,5/16", SAE

(flat, 11/32 x 11/16 x 1/16")

2шт.

10

232-4615

LOCK NUT,5/16"-24, GC

4шт.

11

H433455

PIVOT

LEVER control rods

1шт.

12

H672180

SUPPORT

lever mounting

1шт.

13

413-616

BOLT,Hex, 3/8" - 16 x 1", Gr 5

4шт.

14

230-4216

LOCK NUT,3/8"-16, GA

4шт.

15

H668186

STEM

ROD centering

1шт.

16

432-816

COTTER PIN,1/8" x 1"

1шт.

17

232-4616

LOCK NUT,3/8"-24, GC

1шт.

18

425-116

NUT,3/8" - 24, Gr 5

Hex

1шт.

19

K625098

SPRING

centering

1шт.

20

H668194

CHANNEL

centering spring

2шт.

21

A32398

BALL JOINT

female, 3/8 inch NF, centering rod, replaces S108030

1шт.

22

425-156

JAM NUT,Jam, 3/8"-24, G5

1шт.

23

D40900

BOSS

mounting bracket

1шт.

24

A162299

BEARING,15.95mm ID

BEARING flange

1шт.

25

28-624

BOLT,Hex, 3/8" - 24 x 1-1/2", Gr 8

hex, 3/8 NF x 1-1/2 inch, grade 8

1шт.

26

495-11041

WASHER,0.406" ID x 0.812" OD x 0.065" W

Flat, (13/32 x 13/16 x 1/16")

1шт.

27

496-21041

WASHER,13/32" x 13/16" x .089", HDN

1шт.

28

232-4616

LOCK NUT,3/8"-24, GC

1шт.

29

T53567

BEARING WASHER,16.66mm ID x 33.33mm OD x 3.43mm Thk

flat, special, hardened

1шт.

30

432-1016

COTTER PIN,5/32" x 1"

5/32" x 1"

1шт.

31

413-412

BOLT,Hex, 1/4" - 20 x 3/4", Gr 5

2шт.

32

495-11028

WASHER,1/4", SAE

(flat, 9/32 x 5/8 x 1/16")

2шт.

33

230-4214

LOCK NUT,1/4"-20, GA

2шт.

34

H672618

LEVER

tandem pump control

1шт.

35

413-612

BOLT,Hex, 3/8" - 16 x 3/4", Gr 5

2шт.

36

230-4216

LOCK NUT,3/8"-16, GA

2шт.

Выбрано товаров: 36