Запчасти Case 860 (8-014) - BASIC HYDRAULIC CIRCUIT - OIL COOLER AND LINES (08) - HYDRAULICS

Схема запчастей Case 860 - (8-014) - BASIC HYDRAULIC CIRCUIT - OIL COOLER AND LINES (08) - HYDRAULICS
16
2
11
13
7
17
14
18
8
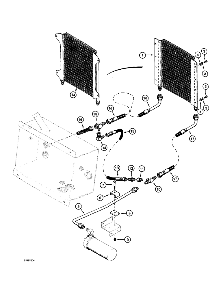
1a
1
17
3
13
4
15
3
18
9
6
2
12
4
10
5
FIT
1:1
100%

Артикул

Название

Примечание

Количество

1

1998838C2

COOLER

- oil, hydraulic, replaces 1998838C1 cooler, used on models with 4T-390 engine

1шт.

1a

299032A1

COOLER

- oil, hydraulic, used on models with 4T-390 Emissions Certified Engine

1шт.

2

614-8016

BOLT,Hex, M8 x 1.25 x 16mm, Cl 8.8, Full Thd

- hex, full threads, 8 - 1.25 x 16 mm

4шт.

3

492-11031

LOCK WASHER,5/16"

WASHER, LOCK, 5/16"

4шт.

4

H426775

WASHER

- flat, special, hardened

4шт.

5

H674899

TUBE,25.4 mm OD x 900.7, 137.3 mm L

- return filter to hydraulic oil cooler, see figure 8-012 for hydraulic return filter circuit

1шт.

6

H231894

CLAMP

-

1шт.

7

413-640

BOLT,Hex, 3/8" - 16 x 2-1/2", Gr 5

- hex, 3/8 NC x 2-1/2 inch

1шт.

8

H439128

SPACER

- tube clamp

1шт.

9

230-4216

LOCK NUT,3/8"-16, GA

NUT - hex, self-locking, 3/8 inch NC

1шт.

10

218-582

TEE,1 5/16"-12, 37 Degree x 3/4"-14, NPTF Fem Br

- 3/4 female PT branch x 1-5/16-12 inch flare x flare, see figure 8-012 for hydraulic circuit from return filter to tee

1шт.

11

H627513

VALVE

- check

1шт.

12

218-457

HYD CONNECTOR,7/8" - 14 Male JIC x 3/4" - 14 Male NPTF

ADAPTER - straight, 7/8-14 flare x 3/4 inch PT

1шт.

13

H439117

HOSE

- 910 mm (35-3/4 inch) long, cooler bypass

1шт.

14

218-5232

ELBOW,90 Degree, 7/8"-14, 37 Degree x 7/8"-14, 37 Degree Fem Sw

- 90 degree, 7/8-14 inch flare x swivel

1шт.

15

218-1123

TEE,1 5/16"-12, 37 Degree x 1"-11 1/2, NPTF Run

- 1-5/16-12 flare branch x flare x 1 inch PT

1шт.

16

H151399

FILTER STRAINER

SCREEN - filter

1шт.

17

H439114

HOSE

- 790 mm (31-1/8 inch) long, tee to oil cooler

1шт.

18

H439115

HOSE

- 1170 mm (46-1/16 inch) long, oil cooler to tee at reservoir

1шт.

Выбрано товаров: 19