Запчасти Case 860 (8-046) - BACKHOE CONTROL VALVE ASSEMBLY - H672270 (KONTAK) - BOOM, BUCKET, DIPPER AND SWING SECTION (08) - HYDRAULICS

Схема запчастей Case 860 - (8-046) - BACKHOE CONTROL VALVE ASSEMBLY - H672270 (KONTAK) - BOOM, BUCKET, DIPPER AND SWING SECTION (08) - HYDRAULICS
18
16
2
7
11
17
10
12
5
3
4
20
19
13
15
18
20
12
8
11
6
1
19
7
14
9
FIT
1:1
100%

Артикул

Название

Примечание

Количество

H672270

VALVE

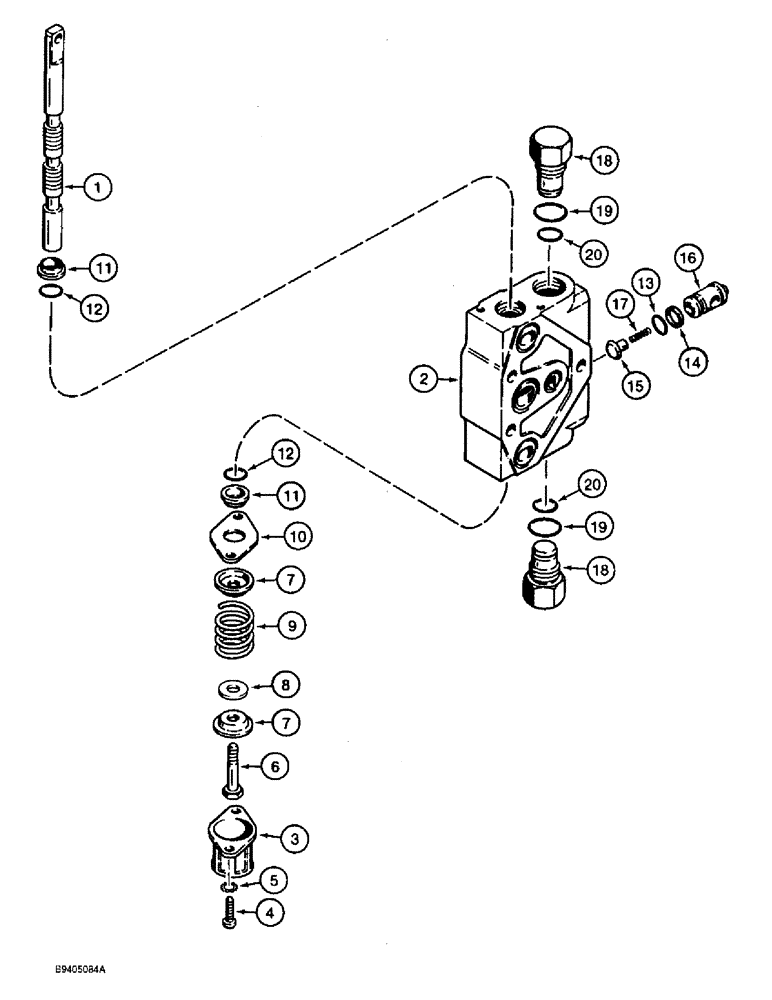
ASSEMBLY - backhoe control, 6 spool, Includes: Ref. 1 - 18 figure 8-040, 1 - 10 figure 8-042, 1 - 32 figure 8-044, 1 - 20, 8-046, 1 - 26 this figure, 1 - 28 figure 8-049A, and 1 - 10 figure 8-050

1шт.

N14033

KNIFE SECTION

SECTION ASSEMBLY - boom, bucket, dipper and swing, Includes: Ref. 1 - 20

4шт.

1

NSS

NOT SOLD SEPARAT

SPOOL - valve section

1шт.

2

NSS

NOT SOLD SEPARAT

BODY - valve section

1шт.

H401182

CAP

ASSEMBLY - spool end, no longer available, order H438212 cap, two (2) 440-12512 screw, and two (2) 493-41026 washer

1шт.

3

H438212

CAP

- spool, replaces H401182 cap assembly

1шт.

4

440-12512

SCREW,Cross Pan Hd, 1/4"-20 x 3/4"

2шт.

5

493-41026

LOCK WASHER,Ext Tooth, 1/4"

WASHER - external tooth lock, 1/4 inch

2шт.

6

H401190

SCREW

- special, spool end

1шт.

7

H401208

SEAT PLATE

SEAT - spring

2шт.

8

1329639C1

SPACER

- spring seat

1шт.

9

H401216

SPRING

- spool

1шт.

10

N14042

SHIN

RETAINER - seal

1шт.

11

N14043

WIPER SEAL

SEAL - wiper

2шт.

12

238-5114

O-RING,0.103" Thk x 0.612" ID, -114, Cl 5, 75 Duro

2шт.

N14044

KIT

- load check, no longer available, order component parts, Includes: Ref. 13 - 15

1шт.

13

238-6014

O-RING,0.07" Thk x 0.489" ID, -14, Cl 6, 90 Duro

1шт.

14

N14047

GASKET

RING - backup, load check

1шт.

15

H438207

GUIDE

- load check

1шт.

16

H438205

VALVE

POPPET - load check

1шт.

17

H438206

SPRING

- load check

1шт.

N14057

PLUNGER ASSY.

PLUG ASSEMBLY - section, if used, Includes: Ref. 18 - 20

2шт.

18

NSS

NOT SOLD SEPARAT

PLUG - section

1шт.

19

H398685

O-RING

- large

1шт.

20

238-6016

O-RING,0.07" Thk x 0.614" ID, -16, Cl 6, 90 Duro

1шт.

Выбрано товаров: 0