Запчасти Case 860 (8-051C) - BACKHOE CONTROL VALVE ASSEMBLY - H672270 (CI) - MAIN RELIEF VALVE ASSEMBLY (08) - HYDRAULICS

Схема запчастей Case 860 - (8-051C) - BACKHOE CONTROL VALVE ASSEMBLY - H672270 (CI) - MAIN RELIEF VALVE ASSEMBLY (08) - HYDRAULICS
10
1
7
9
6
4
9
2
3
8
5
FIT
1:1
100%

Артикул

Название

Примечание

Количество

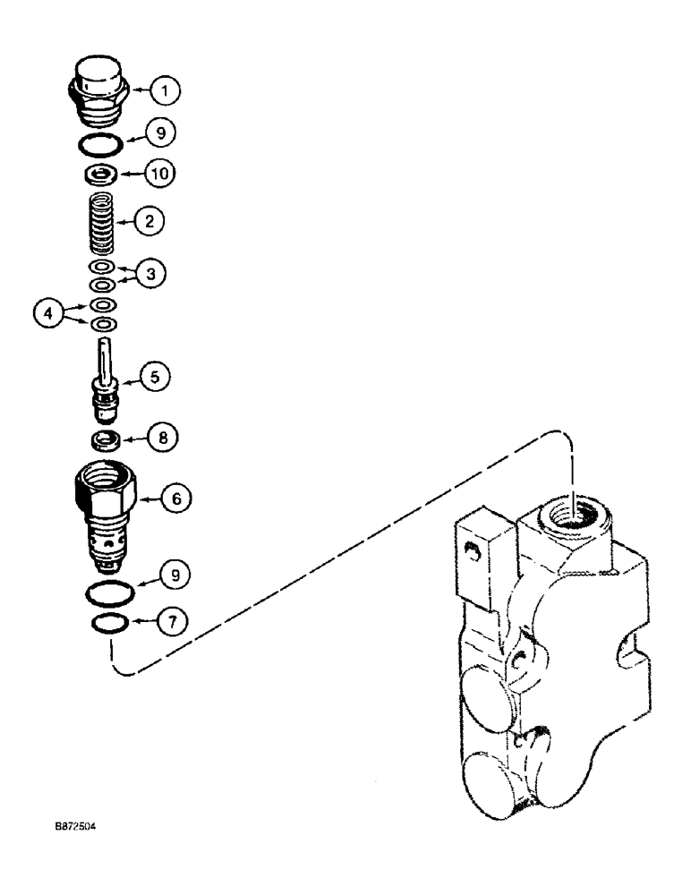
H672270

VALVE

ASSEMBLY - backhoe control, 6 spool, Includes: Ref. 1 - 21 figure 8-051A, 1 - 10 this figure, 1 - 32 figure 8-051E, 1 - 20 figure 8-051G, 1 - 22 figure 8-051I, and 1 - 10 figure 8-051K

1шт.

N14645

VALVE, PRESSURE RELI

VALVE ASSEMBLY - main relief, Includes: Ref. 1 - 10

1шт.

1

NSS

NOT SOLD SEPARAT

CAP - relief valve

1шт.

2

H437223

SPRING

- relief valve

1шт.

3

H398644

BLOCK

SHIM - 0.08 mm (.003 inch) thick

1шт.

4

H398651

BLOCK

SHIM - 0.51 mm (.02 inch) thick

1шт.

5

NSS

NOT SOLD SEPARAT

POPPET - relief valve

1шт.

6

NSS

NOT SOLD SEPARAT

BODY - relief valve cartridge

1шт.

7

238-6016

O-RING,0.07" Thk x 0.614" ID, -16, Cl 6, 90 Duro

Relief valve -016, 90 Duro, .614" ID x .070" Thk

1шт.

8

N14120

SEAL

SPACER - poppet

1шт.

9

H398685

O-RING

- relief valve, large

2шт.

10

1329639C1

SPACER

- spring

1шт.

Выбрано товаров: 12