Запчасти Case 860 (8-051E) - BACKHOE CONTROL VALVE ASSEMBLY - H672270 - STABILIZER SECTION (08) - HYDRAULICS

Схема запчастей Case 860 - (8-051E) - BACKHOE CONTROL VALVE ASSEMBLY - H672270 - STABILIZER SECTION (08) - HYDRAULICS
32
23
14
29
21
16
5
6
11
23
7
24
1
5
18
12
15
26
30
27
24
8
12
28
3
19
31
7
13
20
21
4
10
10
22
11
20
19
17
22
9
2
FIT
1:1
100%

Артикул

Название

Примечание

Количество

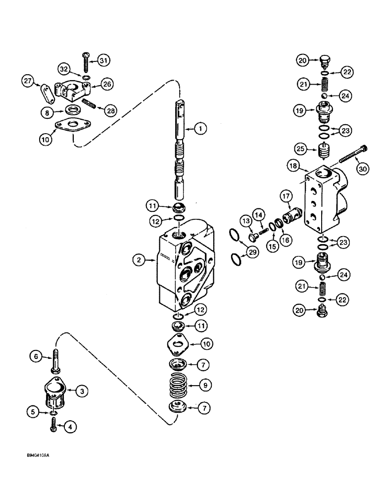
H672270

VALVE

ASSEMBLY - backhoe control, 6 spool, Includes: Ref. 1 - 21 figure 8-051A, 1 - 10 figure 8-051C, 1 - 32 this figure, 1 - 20 figure 8-051G, 1 - 22 figure 8-051I, and 1 - 10 figure 8-051K

1шт.

H674692

HYD VALVE SECTION

SECTION ASSEMBLY - stabilizer, Includes: Ref. 1 - 32

2шт.

1

NSS

NOT SOLD SEPARAT

SPOOL - stabilizer section

1шт.

2

NSS

NOT SOLD SEPARAT

BODY - stabilizer section

1шт.

3

H438212

CAP

- spool

1шт.

4

440-12512

SCREW,Cross Pan Hd, 1/4"-20 x 3/4"

2шт.

5

493-41026

LOCK WASHER,Ext Tooth, 1/4"

WASHER - external tooth lock, 1/4 inch

2шт.

6

H401190

SCREW

- special, spool end

1шт.

7

H401208

SEAT PLATE

SEAT - spring

2шт.

8

1329639C1

SPACER

- bracket

1шт.

9

H401216

SPRING

- spool

1шт.

10

N14042

SHIN

RETAINER - seal

2шт.

11

N14043

WIPER SEAL

SEAL - wiper

2шт.

12

238-5114

O-RING,0.103" Thk x 0.612" ID, -114, Cl 5, 75 Duro

Spool -114, 70 Duro, .612" ID x .103" Thk

2шт.

13

H438207

GUIDE

- load check

1шт.

14

H438206

SPRING

- load check

1шт.

15

238-6014

O-RING,0.07" Thk x 0.489" ID, -14, Cl 6, 90 Duro

Load check -014, 90 Duro, .489" ID x .070" Thk

1шт.

16

N14047

GASKET

RING - backup, load check

1шт.

17

H438205

VALVE

POPPET - load check

1шт.

N14048

VALVE

ASSEMBLY - double check, Includes: Ref. 18 - 25

1шт.

18

NSS

NOT SOLD SEPARAT

BODY - double check

1шт.

N14049

VALVE

CARTRIDGE ASSEMBLY - double check, Includes: Ref. 19 - 24

2шт.

19

NSS

NOT SOLD SEPARAT

BODY - double check

1шт.

20

NSS

NOT SOLD SEPARAT

PLUG - double check valve

1шт.

21

NSS

NOT SOLD SEPARAT

SPRING - double check valve

1шт.

22

238-6013

O-RING,0.07" Thk x 0.426" ID, -13, Cl 6, 90 Duro

- 7/16 ID x 1/16 inch wide, plug

1шт.

23

238-5015

O-RING,0.07" Thk x 0.551" ID, -15, Cl 5, 75 Duro

-015, 70 Duro, .551" ID x .070" Thk, Double check valve body

2шт.

24

NSS

NOT SOLD SEPARAT

BALL - double check valve

1шт.

25

N14050

PILOT VALVE

SHUTTLE - double check valve

1шт.

H674596

BRACKET

ASSEMBLY - mounting, stabilizer lever, Includes: Ref. 26 - 28

1шт.

26

H438217

BRACKET

- mounting, lever

1шт.

27

H438218

LINK

- lever, stabilizer bracket

1шт.

28

38-11616

LOCK PIN,1/4" x 1", Slotted

Pin, 1/4" x 1", Slotted

1шт.

29

238-6017

O-RING,0.07" Thk x 0.676" ID, -17, Cl 6, 90 Duro

Double check valve body to stabilizer valve section -017, 90 Duro, .676" ID x .070" Thk

2шт.

30

61-32528

HEX SOC SCREW,1/4"-20 x 1 3/4"

BOLT - hex socket, 1/4 NC x 1-3/4 inch

4шт.

31

276-24720

SELF-TAP SCREW,Hex Hd, 1/4" x 1 1/4"

SCREW - self-tapping, hex head, 1/4 NC x 1-1/4 inch

2шт.

32

493-41026

LOCK WASHER,Ext Tooth, 1/4"

WASHER - external tooth lock, 1/4 inch

2шт.

Выбрано товаров: 37