Запчасти Case 860 (9-004) - OPERATORS COMPARTMENT - PLATFORM, FLOOR PLATES, STEERING TOWER AND PANELS (09) - CHASSIS/ATTACHMENTS

Схема запчастей Case 860 - (9-004) - OPERATORS COMPARTMENT - PLATFORM, FLOOR PLATES, STEERING TOWER AND PANELS (09) - CHASSIS/ATTACHMENTS
14
18
16
24
22
11
28
20
14
15
16
12
26
21
13
17
3
25
18
27
17
23
19
9
10
8
29
7
16
6
1
17
2
4
5
FIT
1:1
100%

Артикул

Название

Примечание

Количество

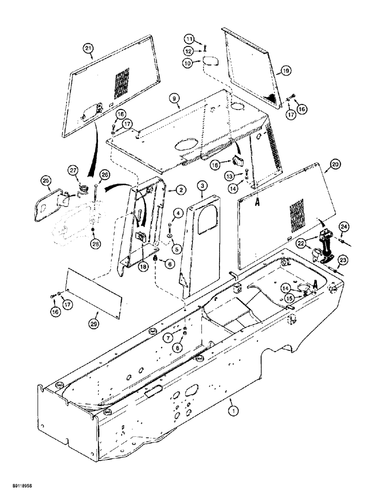
1

H675055

PLATFORM

- operators compartment

1шт.

2

H403972

FLOOR

PLATE - floor

1шт.

3

H674941

CONSOLE

TOWER - steering, brown

1шт.

3

141858A1

SUPPORT

TOWER - steering, gray

1шт.

5

D123199

PANEL

- instrument, brown

1шт.

5

179194A1

PANEL, INSTRUMENTS

PANEL - instrument, gray

1шт.

6

353-400

PLUG,Dome, .250" hole, Nylon

2шт.

7

353-401

PLUG,Dome, .312" hole, Nylon

- button, 5/16 inch

4шт.

8

353-402

PLUG,Dome, .375" hole, Nylon

6шт.

9

353-403

PLUG,Dome, .437" hole, Nylon

If used Dome, .437" hole, Nylon

2шт.

10

353-404

PLUG,Dome, .500" hole, Nylon

2шт.

11

353-407

PLUG,Dome, .687" hole, Nylon

- button, 11/16 inch

1шт.

12

353-411

PLUG,Dome, 1.000" hole, Nylon

1шт.

13

H439199

LARGE PLATE

PANEL - steering tower

1шт.

14

413-516

BOLT,Hex, 5/16" - 18 x 1", Gr 5

- hex, 5/16 NC x 1 inch

27шт.

15

H426775

WASHER

- flat, special, hardened

36шт.

16

232-4115

LOCK NUT,5/16"-18, GC

NUT, LOCK, 5/16"-18, GC

9шт.

17

H346650

NUT

- U-type, 5/16 inch NC

5шт.

18

426-1080

BOLT,Hex, 5/8" - 11 x 5", Gr 8

- hex, 5/8 NC x 5 inch, grade 8

4шт.

19

T53567

BEARING WASHER,16.66mm ID x 33.33mm OD x 3.43mm Thk

WASHER - flat, special, hardened, replaces H426809, used on rear mounts only

2шт.

20

A141470

WASHER

- flat, special

8шт.

20a

D89007

WASHER

- flat, special

4шт.

21

A141451

SHOCK ABSORBER

MOUNT - rubber, operator platform

4шт.

22

232-41110

NUT,5/8"-11, GC

NUT, LOCK, 5/8"-11, GC

4шт.

23

H433305

PLATE

- floor, rear

1шт.

24

H439319

ANGLE

PLATE - bulkhead, mounting, hydraulic fittings

1шт.

25

413-824

BOLT,Hex, 1/2" - 13 x 1-1/2", Gr 5

2шт.

26

496-21053

WASHER,17/32" x 1 1/16" x .134"

- flat, 17/32 x 1-1/16 x 1/8 inch, hardened

4шт.

27

232-4118

NUT,1/2"-13, GC

NUT, LOCK, 1/2"-13, GC

2шт.

28

413-516

BOLT,Hex, 5/16" - 18 x 1", Gr 5

- hex, 5/16 NC x 1 inch

5шт.

29

H426775

WASHER

- flat, special, hardened

5шт.

30

H346650

NUT

- U-type, 5/16 inch NC

5шт.

31

H439187

CHANNEL

COVER - parking brake mounting

1шт.

32

121-107

SERRATED BOLT,Hex, 5/16" - 18 x 1", Gr 5

3шт.

33

H346650

NUT

- U-type, 5/16 inch NC

3шт.

Выбрано товаров: 35