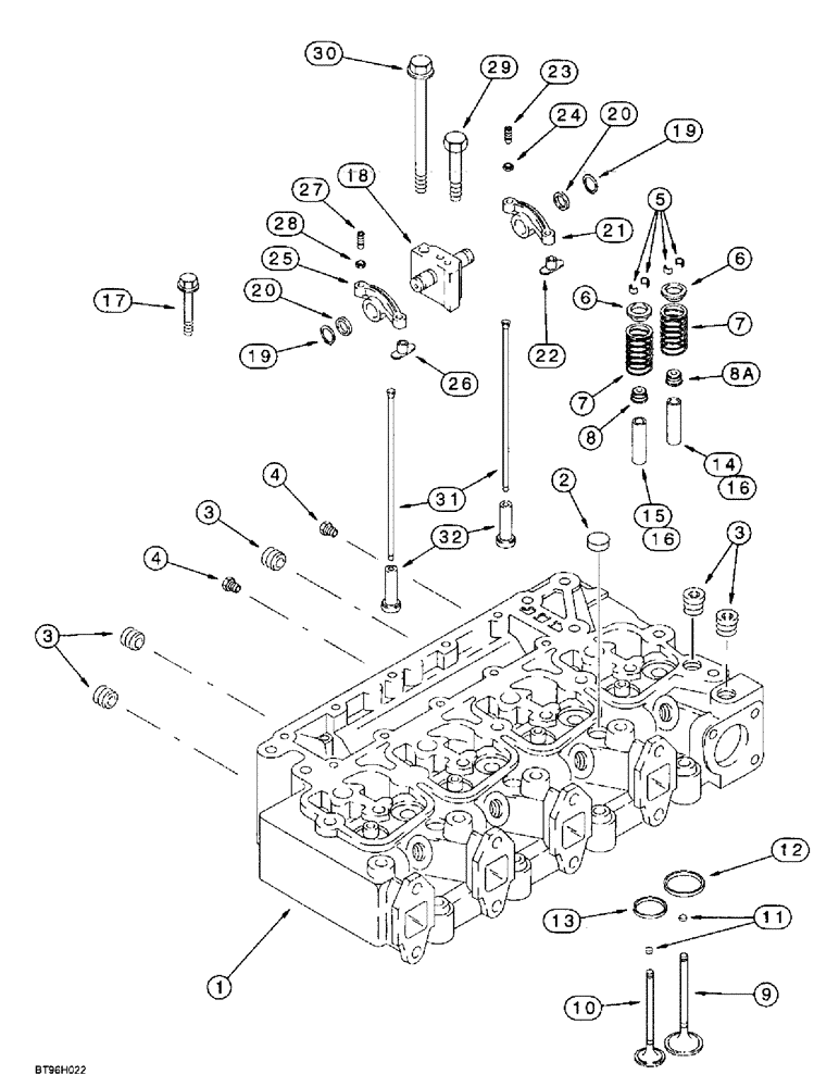
Запчасти Case 860 (2-33A) - CYLINDER HEAD AND VALVE MECHANISM - 4T-390 EMISSIONS CERTIFIED ENGINE (02) - ENGINE

Схема запчастей Case 860 - (2-33A) - CYLINDER HEAD AND VALVE MECHANISM - 4T-390 EMISSIONS CERTIFIED ENGINE (02) - ENGINE
4
1
4
5
19
2
3
13
6
8
32
12
17
3
3
7
10
30
25
7
31
23
29
6
27
18
9
19
16
8a
14
15
22
16
20
28
24
11
20
21
26
FIT
1:1
100%

Артикул

Название

Примечание

Количество

JR927330

REMAN-CYLINDER HEAD

HEAD ASSEMBLY - cylinder, remanufactured, North America only, component parts shown on this figure do not apply to the remanufactured assembly

1шт.

JC927330

CORE-CYLINDER HEAD

RETURN NUMBER - use this part number to return head for credit when using a remanufactured assembly

1шт.

1

J927330

HEAD (CYLINDER)

HEAD ASSEMBLY - cylinder, new, with valves, Includes: Ref. 1 - 10

1шт.

1

J933422

HEAD (CYLINDER)

HEAD ASSEMBLY - cylinder, new, without valves, Includes: Ref. 2

1шт.

2

A77783

PLUG

- expansion, 21 mm OD

3шт.

3

217-466

DRAIN PLUG,Sq Soc, 1/2" - 14, NTPF

PLUG, DRAIN, , One removed to install temperature sending unit Sq Soc, 1/2"-14, NTPF

5шт.

4

J906619

PLUG,1/8" - 27

- hex, 1/8 inch PT

2шт.

5

CASJ900250

RETAINER

KEEPER - valve

16шт.

6

J935038

RETAINER

- valve spring, replaces J900299 retainer

8шт.

7

J926700

VALVE SPRING

SPRING - valve

8шт.

8

J921640

SEAL

- valve

4шт.

8a

J921640

SEAL

- valve

4шт.

9

J920867

VALVE

- intake

4шт.

10

J920868

VALVE

- exhaust

4шт.

11

J280911

WEAR PAD

PAD - wear, service repair only for valve stem tip, for use on intake and exhaust valves

1шт.

12

J906854

SEAT, VALVE

SEAT - insert, intake valve, service repair only

4шт.

13

J904105

SEAT, VALVE

SEAT - insert, exhaust valve, service repair only

4шт.

14

J904408

GUIDE

- valve, intake, service repair only, 14 mm OD

4шт.

These parts are semi-finished valve guides.

1шт.

15

J904409

GUIDE

- valve, exhaust, service repair only, 14 mm OD

4шт.

These parts are semi-finished valve guides.

1шт.

16

J906206

GUIDE

- valve, intake and exhaust, service repair only, 11 mm OD

8шт.

These parts are semi-finished valve guides.

1шт.

17

J920779

BOLT,Flng, M12 x 1.75 x 70mm, Cl 12.9

BOLT, SPECIAL - cylinder head, 70 mm long

4шт.

17

J920780

BOLT,Flng, M12 x 1.75 x 120mm, Cl 12.9

- cylinder head, 120 mm long

10шт.

18

J922488

SUPPORT

AND SHAFT ASSEMBLY - rocker arm

4шт.

19

J900242

SNAP RING

RING - retaining, rocker arm

8шт.

20

J900245

WASHER

- thrust, rocker arm

8шт.

21

J910811

ROCKER

ARM ASSEMBLY - rocker, intake, Includes: Ref. 22 - 28

4шт.

22

NSS

NOT SOLD SEPARAT

INSERT - rocker arm

1шт.

23

J937438

ADJUSTMENT SCREW,Hex Skt, 3/8" - 24 x 33mm, Adj, Ball Point

SCREW - slotted ser, adjusting, special

1шт.

24

A77902

NUT

- hex, 3/8 - 24 NF, replaces 425-116 nut

1шт.

25

J910810

ROCKER

ARM ASSEMBLY - rocker, exhaust

4шт.

26

NSS

NOT SOLD SEPARAT

INSERT - rocker arm

1шт.

27

J937438

ADJUSTMENT SCREW,Hex Skt, 3/8" - 24 x 33mm, Adj, Ball Point

SCREW - slotted set, adjusting, special

1шт.

28

A77902

NUT

- hex, 3/8 - 24 NF, replaces 425-116 nut

1шт.

29

814-8075

BOLT,Hex, M8 x 1.25 x 75mm, Cl 8.8

4шт.

30

J920781

BOLT,Flng, M12 x 1.75 x 180mm, Cl 12.9

BOLT, SPECIAL - rocker arm and cylinder head, 180 mm

4шт.

31

J284377

PUSH ROD

ROD - push, rocker arm, replaces J923262 rod

8шт.

32

J931623

TAPPET

- valve, push rod

8шт.

Выбрано товаров: 40