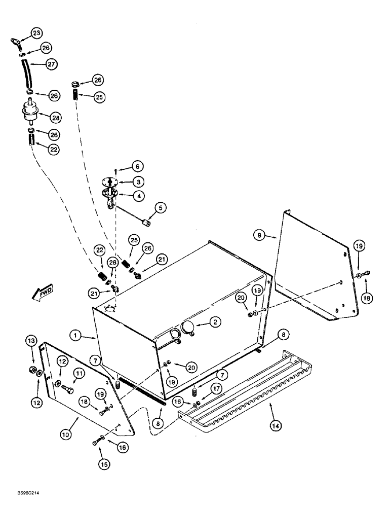
Запчасти Case 860 (3-03A) - FUEL TANK AND LINES USED ON MODELS WITH 4T-390 EMISSIONS CERTIFIED ENGINE (03) - FUEL SYSTEM

Схема запчастей Case 860 - (3-03A) - FUEL TANK AND LINES USED ON MODELS WITH 4T-390 EMISSIONS CERTIFIED ENGINE (03) - FUEL SYSTEM
19
12
8
18
20
12
19
2
7
9
26
11
26
18
28
1
5
10
8
26
25
27
21
26
14
16
7
26
25
22
19
20
16
4
6
15
26
21
19
13
22
23
3
17
FIT
1:1
100%

Артикул

Название

Примечание

Количество

H673060

FUEL TANK

TANK ASSEMBLY - diesel fuel, Includes: Ref. 1 - 6

1шт.

1

NSS

NOT SOLD SEPARAT

TANK - diesel fuel

1шт.

2

H433699

PLUG

CAP - fuel tank filler neck

1шт.

N13520

SENDER UNIT

SENDER ASSEMBLY - fuel level gauge, Includes: Ref. 3 - 6

1шт.

3

NSS

NOT SOLD SEPARAT

SENDER - fuel level gauge

1шт.

4

NSS

NOT SOLD SEPARAT

GASKET - fuel sender

1шт.

5

NSS

NOT SOLD SEPARAT

FLOAT - cork, fuel sender

1шт.

6

470-1108

SCREW,Slotted Pan Hd, #10-24 x 1/2"

- machine, pan head slotted, No. 10 NC x 1/2 inch

5шт.

7

217-433

PLUG,Hex Soc, 1/4" - 18 NPTF

- square, 1/4 inch PT

2шт.

8

H433912

RUBBER STRIP

STRIP - rubber, 12 (1/2) x 3 (1/8) x 300 mm (12 inch) long, cut from D91137, see below

2шт.

9

H436266

BRACKET

- fuel tank mounting, rear

1шт.

10

H436267

BRACKET

- fuel tank mounting, front

1шт.

11

413-828

BOLT,Hex, 1/2" - 13 x 1-3/4", Gr 5

4шт.

12

496-21053

WASHER,17/32" x 1 1/16" x .134"

- flat, 17/32 x 1-1/16 x 1/8 inch, hardened

8шт.

13

232-4118

NUT,1/2"-13, GC

NUT, LOCK, 1/2"-13, GC

4шт.

14

H672373

STEP

- operators compartment access

1шт.

15

413-620

BOLT,Hex, 3/8" - 16 x 1-1/4", Gr 5

- hex, 3/8 NC x 1-1/4 inch

4шт.

16

496-21041

WASHER,13/32" x 13/16" x .089", HDN

- flat, 13/32 x 13/16 x 3/32", hardened

8шт.

17

232-4116

NUT,3/8"-16, GC

NUT, LOCK, 3/8"-16, GC

4шт.

18

413-512

BOLT,Hex, 5/16" - 18 x 3/4", Gr 5

- hex, 5/16 NC x 3/4 inch

6шт.

19

496-11034

WASHER,11/32" x 11/16" x 1/16", HDN

- flat, 11/32 x 11/16 x 1/16 inch, hardened

12шт.

20

232-4115

LOCK NUT,5/16"-18, GC

NUT, LOCK, 5/16"-18, GC

6шт.

21

217-125

FITTING,3/8" Hose Barb x 1/4" Male NPTF

ADAPTER - straight, 3/8 barb end x 1/4 inch PT

2шт.

22

292021A1

FUEL HOSE,9.65 mm ID x 1170.00 mm, SAE 30R7

Tank To Fuel Filter 9.65 mm ID x 1170.00 mm, SAE 30R7

1шт.

23

217-293

FITTING,90 Degree Elbow, 3/8" Hose Barb x 1/4" Male NPTF

ELBOW - 90 degree, 3/8 barb end x 1/4 inch PT

1шт.

25

292022A1

FUEL HOSE,9.65 mm ID x 1725.00 mm, SAE 30R7

Engine To Tank 9.65 mm ID x 1725.00 mm, SAE 30R7

1шт.

26

214-1706

HOSE CLAMP,#06, 0.44" - 0.78", Type M Worm

CLAMP, HOSE, , Adjustable, Fuel hoses #6, 0.44/0.78 Type M Worm

6шт.

27

292020A1

FUEL HOSE,9.53 mm ID x 290.00 mm, SAE 30R7

Fuel Filter to Fuel Pump 9.53 mm ID x 290.00 mm, SAE 30R7

1шт.

28

D139225

FILTER, FUEL

FILTER - fuel, in-line

1шт.

D91137

STRIP

- bulk, 12 (1/2) x 3 (1/8) x 600 mm (24 inch) long

2шт.

345-44

ADHESIVE

- spray can, 3M No. 74, 23 ounce

1шт.

Выбрано товаров: 31