Запчасти Case 960 (09-11) - BACKHOE WALKWAY (09) - CHASSIS

Схема запчастей Case 960 - (09-11) - BACKHOE WALKWAY (09) - CHASSIS
13
1
3
11
15
7
6
4
16
15
2
12
8
5
14
9
10
FIT
1:1
100%

Артикул

Название

Примечание

Количество

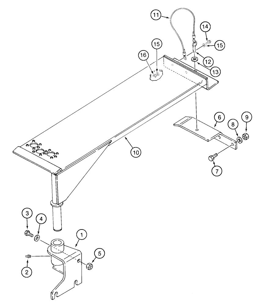
1

H673206

BRACKET

Walkway Mounting

1шт.

2

219-8

LUBE NIPPLE,1/4" - 28 NPTF

1шт.

3

413-824

BOLT,Hex, 1/2" - 13 x 1-1/2", Gr 5

3шт.

4

496-21053

WASHER,17/32" x 1 1/16" x .134"

Hardened

3шт.

5

230-4218

LOCK NUT,1/2"-13, GA

3шт.

6

H434330

ANGLE

1шт.

7

413-824

BOLT,Hex, 1/2" - 13 x 1-1/2", Gr 5

2шт.

8

496-21053

WASHER,17/32" x 1 1/16" x .134"

Hardened

2шт.

9

230-4218

LOCK NUT,1/2"-13, GA

2шт.

10

H673208

WALKWAY

CATWALK , Backhoe

1шт.

11

L78786

CABLE RETAINER

Retainer, Walkway Pin

1шт.

12

D94535

PIN,9.52mm OD

1шт.

13

495-11041

WASHER,0.406" ID x 0.812" OD x 0.065" W

(13/32 x 13/16 x 1/16")

1шт.

14

413-616

BOLT,Hex, 3/8" - 16 x 1", Gr 5

1шт.

15

496-21041

WASHER,13/32" x 13/16" x .089", HDN

2шт.

16

230-4216

LOCK NUT,3/8"-16, GA

1шт.

Выбрано товаров: 16