Качественные детали и логистика
Оригинальные и аналоговые запчасти с доставкой по России, Казахстану и Беларуси
©2022 PartSell ООО "Система" ИНН 2463123282 ОГРН 1212400004838
Центральный офис: г. Красноярск, Академика Киренского, д.87, пом.4
Телефон: 8 (800) 777-65-74 Email: zakaz@partsell.ru
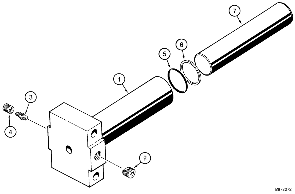
(09-32) - CHAIN ADJUSTER ASSY BOOM, ROCK
№
Артикул
Название
Примечание
Количество
H672751
CYLINDER
Consists Of 1 - 7
1шт.
1
H672695
2
H114728
PLUG
3
219-66
LUBE NIPPLE,1/8"-27 NPT, Dustproof
1/8 PT x 1, Includes 4
4
NSS
NOT SOLD SEPARAT
Cap
5
238-6327
O-RING,0.21" Thk x 1.725" ID, -327, Cl 6, 90 Duro
6
H755009
RING
7
H434551
ROD
Выбрано товаров: 0