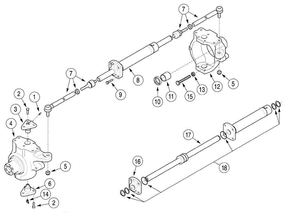
Запчасти Case 960 (06-27) - AXLE, REAR STEERING CYLINDER AND SWIVAL HOUSINGS (06) - POWER TRAIN

Схема запчастей Case 960 - (06-27) - AXLE, REAR STEERING CYLINDER AND SWIVAL HOUSINGS (06) - POWER TRAIN
2
5
17
1
8
18
2
16
14
15
10
4
11
7
5
3
12
7
9
6
13
FIT
1:1
100%

Артикул

Название

Примечание

Количество

393983A1

AXLE, FRONT

Includes 6-67 - 6-79

1шт.

1

321204

LUBE NIPPLE,M6 x 1.0 x 16mm OAL

2шт.

2

D150214

BOLT,Lock, Hex, M14 x 2 x 35mm, Cl 10.9

12шт.

3

122260A1

PIVOT

2шт.

4

410021A1

CAP

Left-Hand

1шт.

5

107070A1

LOCK NUT

M20

2шт.

6

122259A1

PIVOT,120mm OD, 15mm ID, 5mm L

2шт.

7

1997712C2

BALL JOINT

Arm

2шт.

8

1957963C1

CYLINDER ASSY.

Steering, Includes 16 - 18

1шт.

9

114296A1

BOLT

4шт.

10

247519A1

OIL SEAL

2шт.

11

100532A1

BUSHING

2шт.

12

410022A1

CAP

Right-Hand

1шт.

13

85805986

NUT,M16

2шт.

14

N13505

LUBE NIPPLE,45 Degree, M6 x 1

2шт.

15

1537664C1

BOLT,M16 x 100mm

4шт.

16

1341820C1

HEAD (CYLINDER)

1шт.

17

408491A1

PISTON ROD

1шт.

18

408492A1

SEAL KIT

Seals

1шт.

Выбрано товаров: 0