Запчасти Case 1000 (34) - DIRT DEFLECTOR, DIRT CHUTES

Схема запчастей Case 1000 - (34) - DIRT DEFLECTOR, DIRT CHUTES
FIT
1:1
100%

Артикул

Название

Примечание

Количество

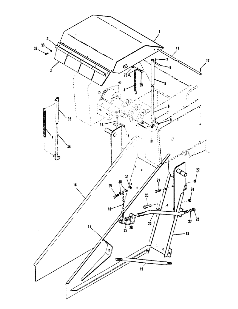
1

H519553

DIRT DEFLECTOR HOOD

1шт.

Up to spec. no. P16WS07, P16FG08, P16FD09.

1шт.

1

H591339

DEFLECTOR

DIRT DEFLECTOR HOOD

1шт.

Spec. no. P16WS07, P16FG08, P16FD09, and up.

1шт.

2

H104414

FLAP

PLATE - dirt flap

1шт.

3

H104422

FLAP

DIRT FLAP

1шт.

4

H32946

VALVE SPRING

RETURN SPRING - dirt deflector hood

1шт.

5

H68577

TUBE,10" L

GUIDE TUBE - dirt deflector hood

1шт.

Up to spec. no. P16WS07, P16FG08, P16FD09.

1шт.

6

H31971

CLEVIS COUPLING

CLEVIS PIN (3/8" x 2-1/8")

1шт.

Up to spec. no. P16WS07, P16FG08, P16FD09.

1шт.

6

H230243

CLEVIS COUPLING

CLEVIS PIN (3/8" x 3-5/8")

1шт.

Spec. no. P16WS07, P16FG08, P16FD09, and up.

1шт.

7

H739920

SPARE PART

COTTER PIN (1/8" x 3/4")

2шт.

8

H92007

LIFT TUBE - dirt deflector hood 15" L

1шт.

Up to spec. no. P16WS07, P16FG08, P16FD09.

1шт.

9

H92015

AXLE PIN

CLEVIS PIN (3/8" x 1-1/4")

1шт.

10

H520684

MOUNTING BRACKET - lift tube

1шт.

Up to spec. no. P16WS07, P16FG08, P16FD09.

1шт.

11

H77966

HINGE

PIN - dirt deflector hood

1шт.

12

H739946

KEY

COTTER PIN (1/8 x 1)

2шт.

13

H50906

AXLE PIN

RETAINER PIN - dirt chute

2шт.

14

H32292

PIN

HAIR PIN - cotter

2шт.

15

H517680

DIRT CHUTE - back

1шт.

16

H517706

DIRT CHUTE - right

1шт.

17

H517698

DIRT CHUTE - left

1шт.

18

H99044

CHAIN (AG)

CHAIN - dirt chute - left

1шт.

19

H516385

DIRT CHUTE BRACE - lower, long

2шт.

Required with double chain line.

1шт.

19

H122937

BRACE

DIRT CHUTE BRACE - lower, long

2шт.

Required with single chain line.

1шт.

20

H517029

DIRT CHUTE BRACE - upper, short

2шт.

Required with double chain line.

1шт.

20

H122945

BRACE

DIRT CHUTE BRACE - upper, short

2шт.

Required with single chain line.

1шт.

21

H710632

BOLT

HHCS (1/2" x 1-1/4" NC)

2шт.

22

H738039

LOCK NUT

NUT (1/2" NC - lock)

2шт.

22a

H735811

NUT

(1/2" NC)

2шт.

23

H711374

BOLT

HHCS (5/8" x 1-1/2" NC)

4шт.

24

230-42110

LOCK NUT,5/8"-11, GA

NUT (5/8" NC - lock)

4шт.

25

H735860

NUT

(1" NC)

8шт.

Required with single chain line.

1шт.

25

H735845

X

NUT (3/4" NC)

8шт.

Required with double chain line.

1шт.

26

H739284

WASHER, LOCK

LOCK WASHER (1")

8шт.

Required with single chain line.

1шт.

26

H739268

WASHER

LOCK WASHER (3/4")

8шт.

Required with double chain line.

1шт.

27

H739250

WASHER

LOCK WASHER (5/8")

8шт.

Required with double chain line.

1шт.

27

H739268

WASHER

LOCK WASHER (3/4")

8шт.

Required with single chain line.

1шт.

28

H735837

NUT

(5/8" NC)

8шт.

Required with double chain line.

1шт.

28

H735845

X

NUT (3/4" NC)

8шт.

Required with single chain line.

1шт.

29

H710640

X

HHCS (1/2" x 1-1/4" NC)

3шт.

30

H738484

WASHER

FLAT WASHER (1/2")

2шт.

31

H738039

LOCK NUT

NUT (1/2" NC - lock)

2шт.

32

H731679

SCREW

THCS (5/16" x 3/4" NC)

5шт.

33

230-4215

NUT,5/16"-18, GA

NUT (5/16" NC - lock)

5шт.

34

H591297

TUBE,2.125" L

LIFT TUBE - dirt deflector hood

1шт.

Spec. no. P16WS07, P16FG08, P16FD09, and up.

1шт.

35

H591289

GUIDE

TUBE - dirt deflector hood

1шт.

Spec. no. P16WS07, P16FG08, P16FD09, and up.

1шт.

Выбрано товаров: 65