Запчасти Case 1000 (58) - HYDRAULIC MOTOR ASSEMBLIES

Схема запчастей Case 1000 - (58) - HYDRAULIC MOTOR ASSEMBLIES
FIT
1:1
100%

Артикул

Название

Примечание

Количество

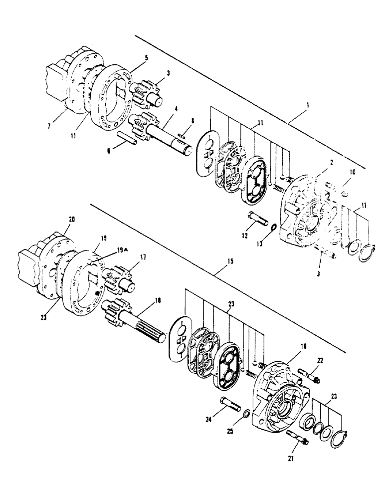
1

563601

CASE

CONVEYOR MOTOR ASSEMBLY, Includes: Ref. 2 - 11

1шт.

2

104067

RIVET,But Hd, 3/16" x 1/2"

FRONT PLATE ASSEMBLY

1шт.

3

212167

IDLER GEAR ASSEMBLY

1шт.

4

212159

DRIVE GEAR ASSEMBLY

1шт.

5

212142

BODY

1шт.

6

754424

HUB

DOWEL PIN

2шт.

7

136622

BACK PLATE ASSEMBLY

1шт.

8

104166

SCREW

KEY (1/4" sq. x 19/32")

1шт.

9

060061

CAP SCREW (3/8" - 16 x 3-1/2" - 12 pt.)

4шт.

10

094516

CAP SCREW (3/8" - 16 X 3-1/4" - 12 pt.)

4шт.

11

104125

SEAL REPAIR KIT

1шт.

12

710640

HOUSING

H.H.C.S. (1/2" x 1-1/2" NC)

2шт.

13

739235

LITERAT SERV MISC.FR

LOCKWASHER (1/2")

2шт.

15

527358

PROPULSION MOTOR ASSEMBLY, Includes: Ref. 16 - 23

1шт.

16

104067

RIVET,But Hd, 3/16" x 1/2"

FRONT PLATE ASSEMBLY

1шт.

17

104141

IDLER GEAR ASSEMBLY

1шт.

18

104174

DRIVE GEAR ASSEMBLY

1шт.

19

212142

BODY

1шт.

19a

754424

HUB

DOWEL PIN

2шт.

20

136622

BACK PLATE ASSEMBLY

1шт.

21

060061

CAP SCREW (3/8" - 16 x 3-1/2" - 12 pt.)

4шт.

22

094516

CAP SCREW (3/8" - 16 x 3-1/4" - 12 pt.)

4шт.

23

104125

SEAL REPAIR KIT

1шт.

24

710632

H.H.C.S. (1/2" x 1-1/4" NC)

2шт.

25

746107

ELBOW

SEAL RING

2шт.

Выбрано товаров: 25