Запчасти Case 700 (34) - HIGH SPEED VALVE ASSEMBLY - CONVEYOR MOTOR ASSEMBLY

Схема запчастей Case 700 - (34) - HIGH SPEED VALVE ASSEMBLY - CONVEYOR MOTOR ASSEMBLY
FIT
1:1
100%

Артикул

Название

Примечание

Количество

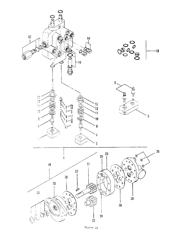
1

H567586

LOCK VALVE

CONVEYOR - high-speed valve, Includes: Ref. 2 - 18

1шт.

2

H125831

BLOCK

DETENT BLOCK (For valves with double detent blocks)

2шт.

3

H105023

BLOCK

DETENT BLOCK (For valves with single detent block)

1шт.

4

H152124

LOCK VALVE

DETENT SCREW (For valves with double detent blocks)

2шт.

5

H105031

SCREW

DETENT SCREW (For valves with single detent block)

2шт.

6

H105015

PLUG

- detent

2шт.

7

H105049

SPRING

- detent

4шт.

8

H104992

PAWL

- detent

4шт.

9

F59116

WASHER

- shallow

2шт.

10

H52928

VALVE SPRING

SPRING SPOOL

2шт.

11

H47555

WASHER

WIRESPACER (For valve with single detent block)

2шт.

12

H52902

CAP

WASHER - deep

2шт.

13

H187591

WASHER

(For valves with double detent blocks)

2шт.

13

H746156

WASHER - special (For valves with single detent block)

2шт.

14

H47506

PLUG

ASM (Includes O-ring)

2шт.

15

D61608

SLEEVE

PLUG ASM - power beyond (Includes O-rings)

1шт.

16

H102053

VALVE

RELIEF VALVE - 2500 PSI (Includes O-rings)

1шт.

17

H141788

DISC

DETENT DISC

1шт.

18

H570036

SEAL

REPAIR KIT

1шт.

19

H529305

GEAR WHEEL

CONVEYOR MOTOR ASM, Includes: Ref. 20 - 29

1шт.

20

H103002

PLATE ASSY.

FRONT PLATE ASM

1шт.

21

H113662

GEAR WHEEL

DRIVE GEAR ASM

1шт.

22

H97881

GEAR WHEEL

IDLER GEAR ASM

1шт.

23

H215616

BODY

1шт.

24

H754671

DOWEL

PIN

1шт.

25

H219576

DOWEL

DRAIN DOWEL

1шт.

26

H501494

PLATE ASSY.

BACK PLATE ASM

1шт.

27

H35147

KEY

(3/16" sq. x 49/64)

1шт.

28

H599704

KIT

REPAIR KIT

1шт.

29

F10897

WASHER

- copper

8шт.

Выбрано товаров: 30