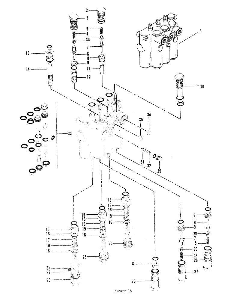
Запчасти Case 700 (38) - BOOM - BLADE - SLOW SPEED VALVE ASSEMBLY (SERIAL NO. 6220 AND UP)

Схема запчастей Case 700 - (38) - BOOM - BLADE - SLOW SPEED VALVE ASSEMBLY (SERIAL NO. 6220 AND UP)
FIT
1:1
100%

Артикул

Название

Примечание

Количество

1

H594457

CONTROL BLOCK

CONTROL VALVE ASM, Includes: Ref. 2 - 33, Start Serial: 6220

1шт.

2

A43525

PLUG

ASM (Includes o-rings) 6220 to, Start Serial: Q306599

1шт.

2

F35197

PLUG

ASM (Includes o-rings), Start Serial: Q306599

1шт.

3

F35197

PLUG

ASM (Includes o-rings)

1шт.

4

A43528

VALVE SPRING

SPRING 6220 to, Start Serial: Q306599

1шт.

4

F35198

VALVE SPRING

SPRING, Start Serial: Q306599

1шт.

5

F35198

VALVE SPRING

SPRING

1шт.

6

A43526

SPOOL

POPPET (Included in seal repair kit) 6220 to, Start Serial: Q306599

2шт.

6

F88777

PLUNGER

POPPET (Included in seal repair kit), Start Serial: Q306599

2шт.

7

F88777

PLUNGER

POPPET (Included in seal repair kit) 6220 to, Start Serial: Q306599

2шт.

7

F88777

PLUNGER

POPPET (Included in seal repair kit), Start Serial: Q306599

2шт.

8

F37884

SEAT

ASM (Includes o-ring)

3шт.

9

A43527

SEAT

ASM (Includes o-ring) 6220 to, Start Serial: Q306599

2шт.

9

F37884

SEAT

ASM (Includes o-ring), Start Serial: Q306599

2шт.

10

H102053

VALVE

RELIEF VALVE - 2500 PSI (Includes o-ring)

1шт.

11

F8229

PLUNGER

1шт.

12

H242750

PLUNGER 6220 to, Start Serial: Q306599

1шт.

12

H271718

PLUNGER, Start Serial: Q306599

1шт.

13

H93849

PLUG

ASM (Includes o-rings)

1шт.

14

H141929

SCREW

METERING SCREW

1шт.

15

T39069

BUSHING

3шт.

16

F8235

WASHER

6шт.

17

H242719

SPACER 6220 to, Start Serial: Q306599

1шт.

17

F37885

SPACER

, Start Serial: Q306599

1шт.

18

F37885

SPACER

2шт.

19

F14091

VALVE SPRING

SPRING

3шт.

21

H105122

VALVE SPRING

DETENT SPRING

1шт.

22

211-256

BALL

DETENT BALL

2шт.

23

H242735

DETENT CAP

1шт.

25

F35196

CAP

SPOOL CAP

2шт.

26

H172601

PLUG

ASM (Includes o-rings)

2шт.

27

H580647

PLUG ASM (Includes o-rings) 6220 to, Start Serial: Q306599

1шт.

27

H172601

PLUG

ASM (Includes o-rings), Start Serial: Q306599

1шт.

28

A43533

VALVE SPRING

SPRING 6220 to, Start Serial: Q306599

1шт.

28

F35198

VALVE SPRING

SPRING, Start Serial: Q306599

1шт.

29

H580621

PLUG ASM (Includes o-rings)

1шт.

30

H266684

AXLE PIN

EYELET, Start Serial: Q306599

4шт.

31

H104992

PAWL

- detent

1шт.

32

H142166

VALVE SPRING

SPRING - detent

1шт.

33

H580654

SEAL ASSY.

SEAL REPAIR KIT 6220 to, Start Serial: Q306599

1шт.

33

H595314

SEAL ASSY.

SEAL REPAIR KIT, Start Serial: Q306599

1шт.

34

H108035

PLATE

ORIFICE - .035 dia. (Boom)

1шт.

35

H746875

SCREW

ORIFICE - .043 dia. (Backfill blade)

1шт.

Выбрано товаров: 43