Запчасти Case DAVIS (14) - HYDRAULIC SYSTEM, STEERING CIRCUIT

Схема запчастей Case DAVIS - (14) - HYDRAULIC SYSTEM, STEERING CIRCUIT
FIT
1:1
100%

Артикул

Название

Примечание

Количество

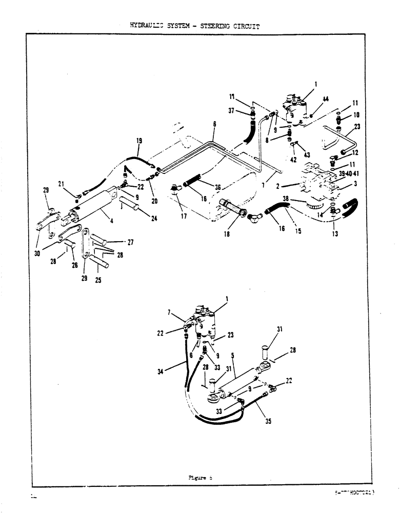
1

H550079

LOCK VALVE

Boom and Steer Valve Asm (See figure 32)

1шт.

2

H621094

PUMP

Propulsion Pump Asm (See Figure 28)

1шт.

3

H621102

PUMP

Boom and Steer Pump Asm (See Figure 32)

1шт.

4

H504076

CYLINDER BLOCK

Boom Lift Cyl Asm (See Figure 32 )

1шт.

5

H621367

CYLINDER BLOCK

Steer Cyl Asm (See Figure 32 )

1шт.

6

H623744

TUBE,0.375" OD

(3/8" OD)

1шт.

7

H623736

TUBE,0.375" OD

(3/8" OD)

1шт.

8

218-5057

HYD CONNECTOR,9/16" - 18 JIC x 9/16" - 18 ORB

Connector (9/16" ORB x 9/16" JIC M)

2шт.

9

218-5005

O-RING,0.078" Thk x 0.468" ID, -906, Cl 6, 90 Duro

6-1, 90 Duro, .468" ID x .078" Thk

7шт.

10

218-5059

HYD CONNECTOR,3/4"-16, 37 Degree x 3/4"-16, O-Ring

Connector (3/4" ORB x 3/4" JIC M)

1шт.

12

218-5106

90 ELBOW,90 Degree Elbow, 3/4" - 16 Male JIC x 3/4" - 16 Male ORB

- 90 Degree (3/4" ORB x 3/4" JIC M)

1шт.

13

217-361

FITTING,90 Degree Elbow, 3/4" Hose Barb x 7/8" - 14 Male ORB

Elbow - 90 Degree (7/8" ORB x 3/4" Hose )

1шт.

14

237-6010

O-RING,0.097" Thk x 0.755" ID, -910, Cl 6, 90 Duro

O Ring

1шт.

15

H212951

HOSE

(3/4" x 24")

1шт.

16

214-254

HOSE CLAMP,#12, 0.69" - 1.25", Type F Worm

Clamp - Hose

4шт.

17

217-330

FITTING,90 Degree Elbow, 3/4" Hose Barb x 1" Male NPTF

Elbow - 90 Degree (1" M P x 3/4" Hose)

2шт.

18

H151399

FILTER STRAINER

Screen - Suction

1шт.

19

H169144

HOSE ASSY.

Hose (1/4" x 23" - 9/16" JIC M x 9/16" JIC Fe Sw)

1шт.

20

H165340

HYDRAULIC HOSE,6.35 mm ID x 304.80 mm, SAE 100R1

6.35 mm ID x 304.80 mm, SAE 100R1

1шт.

21

218-1053

ELBOW,90 Degree, 9/16"-18, 37 Degree x 3/8"-18, NPTF

- 90 Degree (3/8" M P x 9/16" JIC M)

1шт.

22

218-5105

ELBOW,90 Degree Elbow, 9/16" - 18 Male JIC x 9/16" - 18 Male ORB

- 90 Degree (9/16" ORB x 9/16" JIC M)

3шт.

23

H623728

TUBE,0.5" OD

(1/2" CD)

1шт.

24

H334086

CLEVIS

Pin (1 1/18" x 5 3/4" - Clevis)

1шт.

25

H185652

AXLE PIN

Pin (1" x 3" - Hdls)

1шт.

26

H65003

AXLE PIN

Pin (1" x 2" - Clevis)

1шт.

27

H65029

AXLE PIN

Pin (1" x 4 7/8" - Hdls)

1шт.

28

132-307

COTTER PIN,1/4" x 1 3/4"

PIN, Split (Cotter), 1/4" x 1 3/4"

7шт.

29

H64659

DRAG LINK

Link - Straight

2шт.

30

H64642

DRAG LINK

Link - Curved

2шт.

31

H67272

PIN,25.3mm OD x 84.93mm L

Pin (1" x 3" - Clevis)

2шт.

33

218-5135

ELBOW,45 Degree Elbow, 9/16" - 18 Male JIC x 9/16" - 18 Male ORB

- 45 Degree (9/16" ORB x 9/16" JIC M)

2шт.

34

H218453

HYDRAULIC HOSE,6.35 mm ID x 838.20 mm, SAE 100R1

6.35 mm ID x 838.20 mm, SAE 100R1

1шт.

35

H172965

HYDRAULIC HOSE,6.35 mm ID x 939.60 mm, SAE 100R1

6.35 mm ID x 939.60 mm, SAE 100R1

1шт.

36

H307769

HOSE ASSY.

Hose (3/4" x 42")

1шт.

37

217-396

FITTING,3/4" Hose Barb x 3/4" - 16 Male ORB

Connector (3/4" ORB x 3/4" Hose)

1шт.

38

H334540

FILTER CARTRIDGE

Filter Cart

1шт.

39

113-207

BOLT,Hex, 3/8" - 16 x 1", Gr 5

2шт.

40

195-525

WASHER,3/8", SAE

2шт.

41

192-21

LOCK WASHER,3/8"

WASHER, LOCK, 3/8"

2шт.

42

113-257

BOLT,Hex, 3/8" - 16 x 2-1/2", Gr 5

1шт.

43

113-248

BOLT,Hex, 3/8" - 16 x 2-3/4", Gr 5

1шт.

44

230-4216

LOCK NUT,3/8"-16, GA

Nut (3/8" NC Hex - Lock)

2шт.

11

218-5006

O-RING,0.087" Thk x 0.644" ID, -908, Cl 6, 90 Duro

O Ring

3шт.

Выбрано товаров: 43