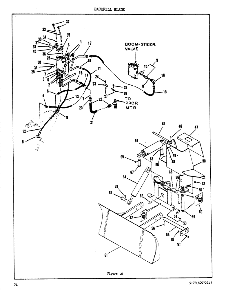
Запчасти Case DAVIS (34) - BACKFILL BLADE

Схема запчастей Case DAVIS - (34) - BACKFILL BLADE
FIT
1:1
100%

Артикул

Название

Примечание

Количество

1

218-5105

ELBOW,90 Degree Elbow, 9/16" - 18 Male JIC x 9/16" - 18 Male ORB

-90 Degree (9/16" ORB x 9/16" JIC M)

2шт.

3

218-5057

HYD CONNECTOR,9/16" - 18 JIC x 9/16" - 18 ORB

Connector (9/16" ORB x 9/16" JIC M)

2шт.

3

218-5059

HYD CONNECTOR,3/4"-16, 37 Degree x 3/4"-16, O-Ring

Connector (3/4" ORB x 3/4" JIC M)

1шт.

4

218-1095

ELBOW,45 Degree, 9/16-18" 37 Degree x 3/8"-18, NPTF

-45 Degree (3/8" M P x 9/16" JIC M)

1шт.

5

218-1053

ELBOW,90 Degree, 9/16"-18, 37 Degree x 3/8"-18, NPTF

-90 Degree (9/16" ORB x 9/16" JIC M)

1шт.

6

218-5005

O-RING,0.078" Thk x 0.468" ID, -906, Cl 6, 90 Duro

6-1, 90 Duro, .468" ID x .078" Thk

6шт.

8

237-6010

O-RING,0.097" Thk x 0.755" ID, -910, Cl 6, 90 Duro

1шт.

9

D61608

SLEEVE

Pressure Beyond Adapter

1шт.

10

H587345

SEAL ASSY.

Seal Kit - Adapter

1шт.

11

H168625

HYDRAULIC HOSE,6.35 mm ID x 381.00 mm, SAE 100R1

6.35 mm ID x 381.00 mm

1шт.

12

H190033

HYDRAULIC HOSE,6.35 mm ID x 685.80 mm, SAE 100R1

6.35 mm ID x 685.80 mm, SAE 100R1

1шт.

13

H168658

HYDRAULIC HOSE,6.35 mm ID x 508.00 mm, SAE 100R1

6.35 mm ID x 508.00 mm

1шт.

14

J59106

Hose (3/8" x 17"- 9/16" ORB x 9/16" JIC Fe Swv)

1шт.

15

H560136

TUBE,0.375" OD

(3/8" OD)

1шт.

16

H560144

TUBE,0.375" OD

(3/8" OD)

1шт.

17

H560110

TUBE,0.5" OD

(1/3" OD)

1шт.

18

218-5121

ELBOW,90 Degree Elbow, 3/4" - 16 Male JIC x 7/8" - 14 Male ORB

-90 Degree (7/8" ORB x 3/4" JIC M)

1шт.

19

H196097

HOSE,0.38" ID x 54.00"

1шт.

20

217-396

FITTING,3/4" Hose Barb x 3/4" - 16 Male ORB

Connector (3/4" ORB x 3/4" Hose)

1шт.

21

H317313

HOSE ASSY.

Hose (3/4" x 28")

1шт.

22

214-254

HOSE CLAMP,#12, 0.69" - 1.25", Type F Worm

Clamp - Hose

2шт.

23

H45468

CLAMP

- Tube

2шт.

24

113-104

BOLT,Hex, 5/16" - 18 x 1-1/4", Gr 5

2шт.

25

113-122

BOLT,Hex, 5/16" - 18 x 1-1/2", Gr 5

2шт.

26

H59345

CLAMP

- Tube

1шт.

27

131-176

LOCK NUT,Prev Torque, Hex, 5/16" - 18, Gr A

Nut (5/16" NC Hex-Lock)

3шт.

28

H563819

Blade Control Valve Asm (See Page 32 )

1шт.

29

113-110

BOLT,Hex, 5/16" - 18 x 2-1/4", Gr 5

Hex, 5/16"-18 x 2 1/4", G5

2шт.

30

131-176

LOCK NUT,Prev Torque, Hex, 5/16" - 18, Gr A

Nut (5/16" NC Hex-Lock)

2шт.

31

195-521

WASHER,5/16", SAE

(5/16" - Flat)

2шт.

32

A14051

GRIP

Knob

2шт.

33

H342634

HANDLE

- Valve

2шт.

34

87016560

JAM NUT,Jam, 3/8"-16, G5

2шт.

35

H275255

CRANK LEVER

Casting - Lever

2шт.

36

H185066

DRAG LINK

Link - Valve

4шт.

37

D23693

AXLE PIN

Pin (1/4 x 1" - Clevis)

2шт.

38

H35279

AXLE PIN,4.72mm OD x 23.76mm L

Pin (3/16" x 57/64" Clevis)

2шт.

39

132-320

COTTER PIN,3/32" x 3/4"

PIN, SPLIT (COTTER), 3/32" x 3/4"

2шт.

40

132-328

COTTER PIN,1/16" x 1/2"

PIN, SPLIT (COTTER), 1/16" x 1/2"

2шт.

42

113-709

BOLT,Hex, 3/4" - 10 x 1-1/2", Gr 5

3шт.

43

131-1131

LOCK NUT,3/4"-10, GA

Nut (3/4" NC Hex-Lock)

3шт.

44

195-545

WASHER,3/4", SAE

(3/4" - Flat)

3шт.

45

H185116

SHAFT

- Valve Control

1шт.

46

138-97

LOCK PIN,3/16" x 1 1/8", Slotted

Pin (5/16" x 1 1/8" - Roll)

1шт.

47

H567066

Cover - Valve

1шт.

48

113-101

BOLT,Hex, 5/16" - 18 x 1-1/2", Gr 5

4шт.

49

192-20

LOCK WASHER,Helical Spring, 0.318" ID, CST, ZND

WASHER, LOCK, 5/16"

4шт.

50

H555862

PLATE

Blade Mtg. Asm

1шт.

51

113-412

BOLT,Hex, 1/2" - 13 x 1-3/4", Gr 5

4шт.

52

131-1182

LOCK NUT,1/2"-13, GA

Nut (1/2" NC Hex - Lock)

4шт.

53

H555854

BRACKET

Pivot Asm

1шт.

54

H127852

BUSHING

2шт.

55

H549006

PIVOT

Shaft - Lift Pivot

1шт.

56

138-177

LOCK PIN,3/8" x 2", Slotted

PIN, 3/8" x 2", Slotted

1шт.

57

113-209

BOLT,Hex, 3/8" - 16 x 1-1/2", Gr 5

HHCS (5/8" x 1 1/2" NC)

1шт.

58

230-4216

LOCK NUT,3/8"-16, GA

Nut (5/16" NC Hex - Lock)

1шт.

59

H182527

AXLE PIN

Pin - Pivot

1шт.

60

219-55

LUBE NIPPLE,90 Degree Elbow, 1/8" - 27 NPTF

NIPPLE, LUBE, 90º, 1/8" NPT x .84" lg

2шт.

61

H629923

BLADE

Backfill Blade Asm

1шт.

62

219-1

LUBE NIPPLE,1/8" - 27 NPTF

Fitting - Grease (1/8")

1шт.

63

138-178

LOCK PIN,3/8" x 2 1/4", Slotted

PIN, 3/8" x 2 1/4", Slotted

1шт.

64

H504076

CYLINDER BLOCK

Angle & Lift Cyl Asm (See Figure 32)

2шт.

65

H65011

AXLE PIN,25.3mm OD x 75.41mm L

Pin (1" x 2 5/8" - Clevis)

1шт.

66

H71621

RETAINER

Pin (1 1/8" x 2 5/8" - Clevis)

2шт.

67

H67272

PIN,25.3mm OD x 84.93mm L

Pin (1" x 3" - Clevis)

1шт.

68

132-313

COTTER PIN,1/4" x 2"

PIN, Split (Cotter), 1/4" x 2"

2шт.

69

132-307

COTTER PIN,1/4" x 1 3/4"

PIN, Split (Cotter), 1/4" x 1 3/4"

2шт.

7

218-5006

O-RING,0.087" Thk x 0.644" ID, -908, Cl 6, 90 Duro

2шт.

Выбрано товаров: 68