Запчасти Case DAVIS (11E) - EXTRA HEAVY DUTY DIGGING CHAIN, TEETH, DIRT DRAGS

Схема запчастей Case DAVIS - (11E) - EXTRA HEAVY DUTY DIGGING CHAIN, TEETH, DIRT DRAGS
FIT
1:1
100%

Артикул

Название

Примечание

Количество

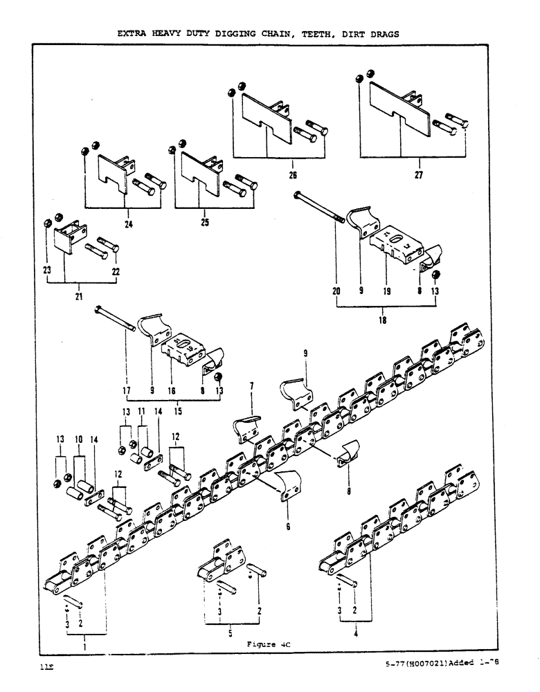
1

H542068

CHAIN (CE)

Extra Heavy Duty Digging Chain - 48 Pitches

1шт.

2

H145011

AXLE PIN

Connector Pin

1шт.

3

H170399

LOCK PIN

Keeper Pin

1шт.

4

H538512

CHAIN (CE)

Extra Heavy Duty Digging Chain - 10 Pitches

1шт.

For 36" boom, order one H542068.

1шт.

For 48" boom, order one H542068 and two H538512.

1шт.

For 60" boom, order one H542068 and two H538512.

1шт.

5

H543983

CHAIN (CE)

Repair Link

1шт.

6

H151258

TOOTH

Center Cut to 4" Mud Tooth - Left

1шт.

For one complete left-hand center cut to 4" mud tooth, order one H151258, two H138008, two 131-387 and two 113-628.

1шт.

7

H151241

TOOTH

Center Cut to 4" Mud Tooth - Right

1шт.

For one complete right-hand center cut to 4" mud tooth, order one H151241, two H138008, two 131-387 and two 113-628.

1шт.

8

H131276

TOOTH

- 4" to 8" - Left

1шт.

For one complete left-hand 4" or 6" tooth, order one H131276, one H130815, two 131-387 and two H138016.

1шт.

For one complete left-hand 8" tooth, order one H131276, one H130815, two 131-387, two H138016 and two 113-628.

1шт.

9

H131268

TOOTH

- 4" to 8" - Right

1шт.

For one complete right-hand 4" or 6" tooth, order one H131268 one H130815, two 113-601, two 131-387 and two H138016.

1шт.

For one complete right-hand 8" tooth, order one H131268, one H130815, two 131-387, two H138016 and two 113-628.

1шт.

10

H138008

SPACER

Tubular Spacer - 1 3/4" Long

1шт.

11

H138016

SPACER

Tubular Spacer - 1 1/4" Long

1шт.

12

113-628

BOLT,Hex, 5/8" - 11 x 3-1/2", Gr 5

Hex, 5/8"-11 x 3 1/2", G5

1шт.

13

230-41110

LOCK NUT,5/8"-11, GA

Nut (5/8 NC Hex - Lock)

1шт.

14

H130815

SPACER

Flat Spacer

1шт.

15

H544742

SPARE PART

Tooth Asm - 10"

1шт.

16

H148031

SUPPORT

Tooth Carrier - 10" (replaces H140031)

1шт.

17

113-650

BOLT,Hex, 5/8" - 11 x 6-1/2", Gr 5

2шт.

18

H544759

TOOTH

Asm - 12"

1шт.

19

H148049

SUPPORT

Tooth Carrier - 12"

1шт.

20

113-678

BOLT,Hex, 5/8" - 11 x 8-1/2", Gr 5

HHCS (5/8 x 8 1/2 NC) (replaces H113678)

2шт.

21

H538603

LINK

Dirt Drag Asm - 3"

1шт.

22

113-601

BOLT,Hex, 5/8" - 11 x 3", Gr 5

2шт.

23

230-41110

LOCK NUT,5/8"-11, GA

Nut (5/8 NC Hex - Lock)

2шт.

24

H624304

HARDWARE

Dirt Drag Asm (5" for 6" Trench) for channel booms

1шт.

24

H538611

SPARE PART

Dirt Drag Asm (5" for 6" Trench) for sprocket booms

1шт.

25

H624312

LINK

Dirt Drag Asm (7" for 8" Trench) for channel booms

1шт.

26

H538629

KIT

Dirt Drag Asm (7" for 8" Trench) for sprocket booms

1шт.

26

H624320

LINK

Dirt Drag Asm (9" for 10" Trench) for channel booms

1шт.

26

H538637

LINK

Dirt Drag Asm (9" for 10" Trench) for sprocket booms

1шт.

27

H624338

LINK

Dirt Drag Asm (11" for 12" Trench)for channel booms

1шт.

27

H538645

LINK

Dirt Drag Asm (11" for 12" Trench) for sprocket booms

1шт.

Выбрано товаров: 0