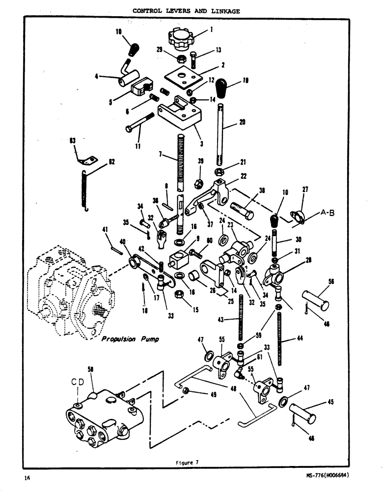
Запчасти Case N63 (16) - CONTROL LEVERS AND LINKAGE

Схема запчастей Case N63 - (16) - CONTROL LEVERS AND LINKAGE
18
14
43
4
48
42
49
32
24
27
34
46
37
32
38
11
45
33
14
16
28
9
29
35
47
1
83
18
17
35
58
30
3
10
2
7
58
15
61
33
38
26
55
5
13
62
24
6
59
ab
21
40
22
25
23
19
23
46
47
10
34
12
35
44
8
20
41
31
cd
39
FIT
1:1
100%

Артикул

Название

Примечание

Количество

1

H239004

KNOB

1шт.

2

H233767

COVER ASSY

Cover Plate

1шт.

3

H608885

CONTROL BLOCK

Control Base

1шт.

4

H577783

CAM

Asm

1шт.

5

H608877

BLOCK

Half Nut

1шт.

6

H253864

VALVE SPRING

Spring

2шт.

7

H237974

SHAFT

Control Shaft

1шт.

8

H741991

PIN

Roll Pin

1шт.

9

H237701

BLOCK

- Control

1шт.

10

H182121

KNOB

2шт.

11

H709204

SCREW

HHCS (1/4" x 2" NC)

1шт.

12

H737999

LOCK NUT

Nut (1/4" NC - Lock)

1шт.

13

H709493

BOLT

HHCS (5/16" x 1 3/4" NC)

2шт.

14

230-4215

NUT,5/16"-18, GA

Nut (5/16" NC - Lock)

4шт.

15

H738039

LOCK NUT

Nut (1/2" NC - Lock)

1шт.

16

H738484

WASHER

Flat Washer (1/2")

2шт.

17

H738468

WASHER

Flat Washer (3/8")

1шт.

18

H739920

SPARE PART

Cotter Pin (1/8" x 3/4")

1шт.

19

H182113

KNOB

1шт.

20

H242693

HANDLE

Control Rod

1шт.

21

86632558

JAM NUT,Jam, 1/2"-13, G5

Nut (1/2" NC - Jam)

1шт.

22

H181982

CASTING

Forward & Reverse Handle

1шт.

23

H181974

SHAFT

Steering Control Shaft

1шт.

24

H182097

WASHER

Friction Washer (.125)

1шт.

25

H558411

BEARING

Shaft Mounting Bracket Asm

1шт.

26

H151894

BUSHING

1шт.

27

H755785

FLANGED BEARING,15.88mm ID

Bearing

1шт.

28

H275255

CRANK LEVER

Lever Casting

1шт.

29

H736942

Nut (1/2" NC - Jam)

1шт.

30

H242701

HANDLE

Line-Layer Lift Handle

1шт.

31

H736645

NUT

(3/8" NC - Jam)

1шт.

32

H165688

ADJUSTABLE CLEVIS,1/4"-28 x 2"

Clevis

2шт.

33

H169920

BALL JOINT

4шт.

34

H169318

CLEVIS COUPLING,6.35mm OD x 22.62mm L

Clevis Pin (1/4" x 51/64")

2шт.

35

H739623

PIN

Cotter Pin (1/16 x 1/2)

2шт.

36

H217109

BOLT

Eye Bolt

1шт.

37

H737585

HARDWARE

Nut (5/16" NC - Jam)

1шт.

38

H710681

X

HHCS (1/2 x 1 1/4 NC)

1шт.

39

H738039

LOCK NUT

Nut (1/2" NC - Lock)

1шт.

40

H580316

HANDLE

Pump Lever

1шт.

41

H742361

PIN

Roll Pin (1/4" x 1 1/8)

1шт.

42

H246678

LINK

All Thread Link

1шт.

43

H245894

LINK

Threaded Link (1/4" x 5 3/8 NF)

1шт.

44

H242685

DRAG LINK

Threaded Link (1/4" x 6 1/8 NF)

1шт.

45

H91082

AXLE PIN

Pin (5/8 x 4 3/4)

1шт.

46

H739961

X

Cotter Pin (1/8 x 1 1/4)

2шт.

47

H738500

WASHER

Flat Washer (5/8")

2шт.

48

H317115

DRAG LINK

Link - Control

2шт.

49

131-426

LOCK NUT,PAL, 3/16"

Twist Nut

4шт.

55

H302836

LEVER

Rocker Arm

2шт.

56

CASH32920

LARGE PIN

Pin (5/8" x 2 1/2")

1шт.

58

H550079

LOCK VALVE

Control Valve Asm (See Figure 34)

1шт.

59

H738138

NUT

(Nut 1/4" NF - Lock)

4шт.

60

H709469

X

HHCS (5/16" x 1 1/4" NC)

2шт.

61

H745315

FITTING

Grease Fitting - 90 degrees

2шт.

62

H28662

VALVE SPRING

Spring

1шт.

63

H52555

HOOK

Bracket - Angle

1шт.

a

H709105

BOLT

HHCS (1/4" x 1/2" NC)

2шт.

b

H737999

LOCK NUT

Nut (1/4" NC - Lock

2шт.

c

H709519

BOLT

HHCS (5/16" x 2 1/2" NC)

2шт.

d

230-4215

NUT,5/16"-18, GA

Nut (5/16 NC - Lock)

2шт.

Выбрано товаров: 61