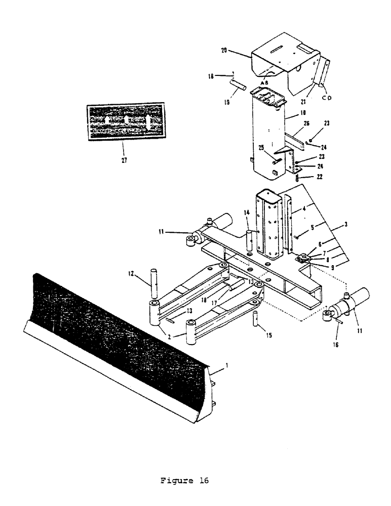
Запчасти Case P42 (34) - ANGLE DOZER ASSEMBLY

Схема запчастей Case P42 - (34) - ANGLE DOZER ASSEMBLY
4
9
27
16
11
26
7
23
18
18
21
20
23
22
11
25
19
24
14
2
6
1
8
15
17
12
13
13
18
3
5
24
FIT
1:1
100%

Артикул

Название

Примечание

Количество

1

H583807

BLADE

Dozer Blade Asm.

1шт.

2

H248609

ARM

Cylinder Arm

2шт.

3

H583799

FUNNEL

Dozer Frame

1шт.

4

H260026

BEARING

Slide Bushing

4шт.

5

H756247

RIVET

(5/16" x 7/8" Soft Stl. C'Sunk Hd.)

16шт.

6

H248716

CLAMP

Cap

2шт.

7

H718866

BOLT

HHCS (3/8" x 3 1/4" NC-Grade 8)

4шт.

8

H738468

WASHER

(3/8" Flat)

4шт.

9

H738013

LOCK NUT

Nut (3/8" NC Lock)

4шт.

10

H596239

Dozer Box Mounting

1шт.

11

H583542

CYLINDER BLOCK

Dozer Angle Cylinder Asm. (See Figure 36)

2шт.

12

H249011

AXLE PIN

Slide Pin (1 1/4" x 7 3/4")

2шт.

13

H742841

PIN

Roll Pin (3/8" x 2 1/4")

4шт.

14

H248724

AXLE PIN

Pivot Pin (1 1/4" x 5 1/4")

2шт.

15

H248732

CYLINDER BLOCK

Cylinder Pin (1" x 3 5/8")

2шт.

16

H742825

ROLL

Pin (3/8" x 2")

2шт.

17

H274498

AXLE PIN

Lock Pin-Lower Lift Cylinder

1шт.

18

H742437

ROLL PIN

(1/4" x 2")

2шт.

19

H191429

AXLE PIN

Pin-Upper Lift Cylinder

1шт.

20

H587774

Valve Mounting Bracket

1шт.

21

H587766

Cover Plate

1шт.

22

H710657

BOLT

HHCS (1/2" x 1 3/4" NC)

4шт.

23

H738039

LOCK NUT

Nut (1/2" NC)

6шт.

24

H738484

WASHER

(1/2" Flat)

6шт.

25

H710665

BOLT

HHCS (1/2" x 2" NC)

2шт.

26

H265298

PLATE

Doubler Plate

1шт.

27

H266593

DECAL

-Angle Dozer

1шт.

a

H709857

BOLT

HHCS (3/8" x 1" NC)

4шт.

b

H738013

LOCK NUT

Nut (3/8" NC Lock)

4шт.

c

H709113

X

HHCS (5/8" x 3/4" NC)

4шт.

d

H739201

WASHER

(5/16" Lock)

4шт.

Выбрано товаров: 31