Запчасти Case P42 (48) - HYDRAULIC SYSTEM, SD 100 BACKHOE

Схема запчастей Case P42 - (48) - HYDRAULIC SYSTEM, SD 100 BACKHOE
13
16
19
10
18
31
9
27
31
21
14
16
24
30
38
28
20
23
9
33
13
12
28
34
3
12
6
6
19
15
1
17
4
12
22
3
2
35
26
20
36
11
32
29
5
25
37
FIT
1:1
100%

Артикул

Название

Примечание

Количество

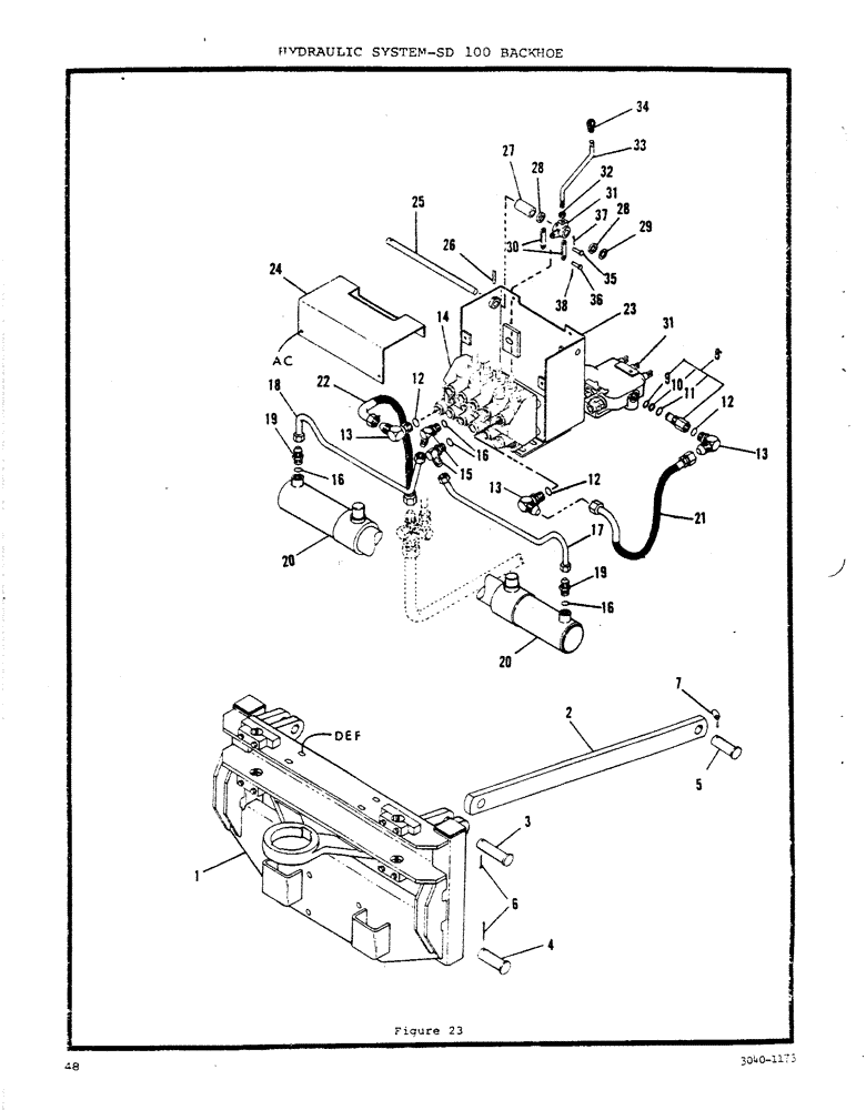
1

H555946

FRAME

Main Frame Asm

1шт.

2

H191304

DRAG LINK

Attaching Link

2шт.

3

H70623

AXLE PIN

Pin (1" x 3 1/2")

2шт.

4

H146118

AXLE PIN

Pin (1 1/8" x 3 1/4")

2шт.

5

H143974

CLEVIS COUPLING

Pin (1" x 2 7/8")

2шт.

6

H740548

PIN

Cotter Pin (1/4" x 1 3/4")

4шт.

7

H32367

PIN

Klik Pin

2шт.

8

H47530

SLEEVE

Pressure Beyond Adapter

1шт.

9

H744656

O-RING

O Ring

1шт.

10

H88997

BACK-UP RING

Backup Washer

1шт.

11

H743351

O-RING

O Ring

1шт.

12

H745174

O-RING

O Ring

3шт.

13

H195313

X

Adapter - 90deg.

3шт.

14

H588566

VALVE

Backhoe Control Valve Asm (See Page 15 Of D-100 Parts Catalog)

1шт.

15

218-5106

90 ELBOW,90 Degree Elbow, 3/4" - 16 Male JIC x 3/4" - 16 Male ORB

2шт.

16

H745166

O-RING

O Ring

4шт.

17

H589879

TUBE,0.5" OD

- Swing Cylinder

1шт.

18

H589887

TUBE,0.5" OD

- Swing Cylinder

1шт.

19

H112573

ADAPTER

- Straight

2шт.

20

H514125

CYLINDER ASSY.

Swing Cyl Asm (See Page 15 Of D-100 Parts Catalog)

1шт.

21

H265462

HOSE ASSY.

Hose & Tube (3/4" x 14" - 1 1/16" J.I.C. Fe. Sw. - Both Ends)

1шт.

22

H267112

HOSE ASSY.

Hose & Tube (3/4" x 26" - 1 1/16" J.I.C. Fe. Sw. - Both Ends)

1шт.

23

H588137

MOUNTING PARTS

Valve Console

1шт.

24

H256271

COVER

Console Cover

1шт.

25

H256263

SHAFT

Lever Shaft

1шт.

26

H742007

PIN

Roll Pin (3/16" x 1 1/8")

1шт.

27

H191247

SPACER

(2" Long)

2шт.

28

H191478

Spacer (11/32" Long)

3шт.

29

H738500

WASHER

Spacer (Washer - 5/8" Flat)

1шт.

30

H185066

DRAG LINK

Valve Link

8шт.

31

H275255

CRANK LEVER

Lever Handle

4шт.

32

H736645

NUT

(3/8" NC - Jam)

4шт.

33

H259796

LEVER

Valve Lever

4шт.

34

H182121

KNOB

4шт.

35

H174771

CLEVIS PIN

Pin (1/4" x 1")

4шт.

36

H35279

AXLE PIN,4.72mm OD x 23.76mm L

Pin (3/16" x 57/64")

4шт.

37

H739623

PIN

Cotter Pin (1/16" x 1/2")

4шт.

38

H739771

HARDWARE

Cotter Pin (3/32 x 3/4")

1шт.

39

H595041

VALVE

Backfill Blade Valve (See Figure 30)

1шт.

a

H749499

SCREW

STCS (5/16" x 1/2")

1шт.

c

H735795

NUT

Washer (5/16" - Lock)

1шт.

d

H709865

BOLT

HHCS (3/8 x 1 1/4" NC)

1шт.

e

H738468

WASHER

(3/8" Flat)

1шт.

f

H739219

LOCK WASHER

Washer (3/8" Flat)

1шт.

Выбрано товаров: 44