Запчасти Case P60 (286) - BACKFILL BLADE, HYDRAULIC ANGLING, TWO ANGLE CYLINDERS (35) - HYDRAULIC SYSTEMS

Схема запчастей Case P60 - (286) - BACKFILL BLADE, HYDRAULIC ANGLING, TWO ANGLE CYLINDERS (35) - HYDRAULIC SYSTEMS
FIT
1:1
100%

Артикул

Название

Примечание

Количество

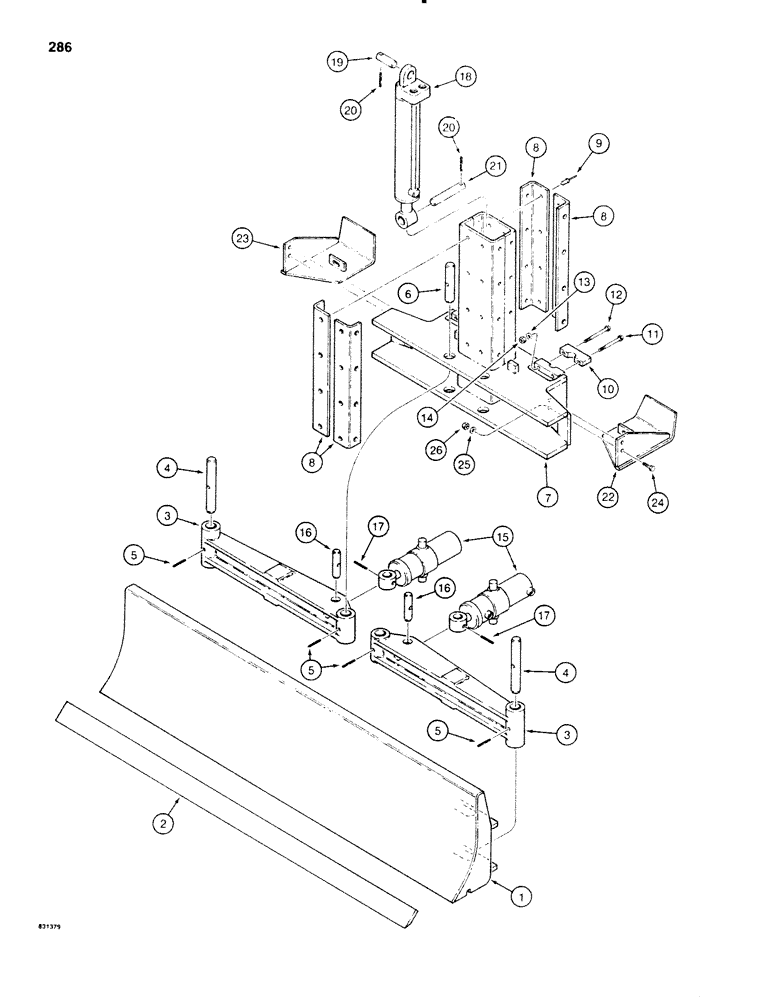
1

H583807

BLADE

- backfill, two cylinder, hydraulic, Includes: Ref. 2

1шт.

2

HG251967

CUTTING EDGE - backfill blade, Serial Range: welds-blade

1шт.

3

H248609

ARM

- blade angling

2шт.

4

H249011

AXLE PIN

PIN - slide

2шт.

5

138-178

LOCK PIN,3/8" x 2 1/4", Slotted

PIN, 3/8" x 2 1/4", Slotted

4шт.

6

H248724

AXLE PIN

PIN - arm pivot

2шт.

7

H623132

FRAME

- backfill blade mounting, Includes: Ref. 8-14

1шт.

8

H283556

ANGLE

WEAR PLATE - frame slide

4шт.

Has only 4 holes. The other 4 holes to be lined up and drilled by dealer.

1шт.

9

46-514

RIVET,Csk, 5/16" x 7/8"

- counter sunk head, 5/16" x 7/8" long, steel

32шт.

10

H248716

CLAMP

CAP - cylinder pivot

4шт.

11

26-652

BOLT,Hex, 3/8" - 16 x 3-1/4", Gr 8

- hex head, 3/8" - 16 NC x 3-1/4", grade 8

4шт.

12

26-656

CAPSCREW,Hex, 3/8" x 3 1/2", Gr 8

BOLT - hex head, 3/8" - 16 NC x 3-1/2", grade 8

4шт.

13

195-525

WASHER,3/8", SAE

- flat, 3/8"

8шт.

14

230-4216

LOCK NUT,3/8"-16, GA

NUT - hex, self-locking, 3/8" - 16 NC

8шт.

15

H583542

CYLINDER BLOCK

CYLINDER - angle, parts list figure 280

2шт.

16

H248732

CYLINDER BLOCK

PIN - angle cylinder mounting, rod end

2шт.

17

138-177

LOCK PIN,3/8" x 2", Slotted

PIN, 3/8" x 2", Slotted

2шт.

18

H559435

CYLINDER BLOCK

CYLINDER - blade lift, parts list figure 278

1шт.

19

H191429

AXLE PIN

PIN - upperlift cylinder mountind

1шт.

20

138-142

LOCK PIN,1/4" x 2", Slotted

PIN, 1/4" x 2", Slotted

2шт.

21

H274498

AXLE PIN

PIN - lower lift cylinder mounting

1шт.

22

H613729

SHIELD

GUARD - angle cylinder, left-hand

1шт.

23

H613737

SHIELD

GUARD - angle cylinder, right-hand

1шт.

24

113-213

BOLT,Hex, 3/8" - 16 x 2-1/4", Gr 5

4шт.

25

195-525

WASHER,3/8", SAE

- flat, 3/8"

4шт.

26

230-4216

LOCK NUT,3/8"-16, GA

NUT - hex, self-locking, 3/8" - 16 NC

4шт.

Выбрано товаров: 27