Запчасти Case P60 (484) - BACKHOE FRAME MOUNTING (84) - BOOMS, DIPPERS & BUCKETS

Схема запчастей Case P60 - (484) - BACKHOE FRAME MOUNTING (84) - BOOMS, DIPPERS & BUCKETS
FIT
1:1
100%

Артикул

Название

Примечание

Количество

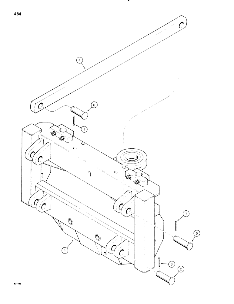
1

H555946

FRAME

ASSEMBLY - SD-100 backhoe, parts list 487

1шт.

2

H146118

AXLE PIN

CLEVIS PIN - 1-1/8" x 3-3/4" long, lower

2шт.

3

132-313

COTTER PIN,1/4" x 2"

PIN, Split (Cotter), 1/4" x 2"

2шт.

4

H191308

LINK - upper mounting

2шт.

5

H70623

AXLE PIN

CLEVIS PIN - 1" x 3-1/2" long, link to backhoe frame

2шт.

6

H143974

CLEVIS COUPLING

CLEVIS PIN - 1" x 2-7/8" long, lind to tractor frame

2шт.

7

132-313

COTTER PIN,1/4" x 2"

PIN, Split (Cotter), 1/4" x 2"

4шт.

Выбрано товаров: 7