Запчасти Case DH4 (5-09C) - DUAL LEVER BACKHOE CONTROL - FRONT MOUNTED (89) - TOOLS

Схема запчастей Case DH4 - (5-09C) - DUAL LEVER BACKHOE CONTROL - FRONT MOUNTED (89) - TOOLS
FIT
1:1
100%

Артикул

Название

Примечание

Количество

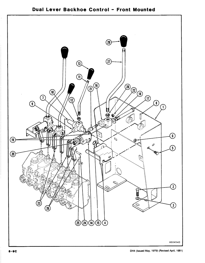
1

H611145

MOUNTING PARTS

CONSOLE - Valve, Includes: Refs. 2, 3

1шт.

2

113-208

BOLT,Hex, 3/8" - 16 x 1-1/4", Gr 5

4шт.

3

195-525

WASHER,3/8", SAE

- Flat (3/8)

4шт.

4

H611111

BRACKET

ASSEMBLY - Lever, Includes: Refs. 5, 6

1шт.

5

113-102

BOLT,Hex, 5/16" - 18 x 3/4", Gr 5

Hex, 5/16"-18 x 3/4", G5, Full Thd

4шт.

6

131-176

LOCK NUT,Prev Torque, Hex, 5/16" - 18, Gr A

NUT - NC HH C/L (5/16)

4шт.

7

H304063

SHAFT

- Lever, Includes: Ref. 8

1шт.

8

138-97

LOCK PIN,3/16" x 1 1/8", Slotted

PIN, 3/16" x 1-1/8", Slotted

1шт.

9

H275255

CRANK LEVER

CASTING - Handle

2шт.

10

H26468

SPACER

1шт.

11

H191924

LEVER

HANDLE - Lever

2шт.

12

87016560

JAM NUT,Jam, 3/8"-16, G5

2шт.

13

A14051

GRIP

KNOB

2шт.

14

H302851

LEVER

TRUNNION - Lever, Includes: Ref. 15

2шт.

15

D32101

SNAP RING,#62, Ext

RING, Snap, #62, Ext

1шт.

16

H302810

PIVOT

- Lever, Includes: Refs. 17-20

2шт.

17

86505993

BOLT,Hex, 1/2" - 13 x 4", Gr 5

1шт.

18

195-533

WASHER,1/2", SAE

- Flat (1/2)

1шт.

19

H256305

WASHER

- Friction

2шт.

20

131-1182

LOCK NUT,1/2"-13, GA

NUT - NC HH (1/2)

1шт.

21

H217109

BOLT

BOLT - Eye, Includes: Ref. 22

2шт.

22

131-1169

LOCK NUT,5/16"-24, GA

NUT, LOCK, 5/16"-24, GA

1шт.

23

H219006

DRAG LINK

LINK, Includes: Refs. 24-26

12шт.

24

H169318

CLEVIS COUPLING,6.35mm OD x 22.62mm L

PIN - Clevis (1/4 x 3/4)

6шт.

25

H35279

AXLE PIN,4.72mm OD x 23.76mm L

PIN - Clevis (3/16 x 57/64)

6шт.

26

132-328

COTTER PIN,1/16" x 1/2"

PIN, SPLIT (COTTER), 1/16" x 1/2"

12шт.

27

H293084

HANDLE

- Lever

2шт.

28

129-145

JAM NUT,Jam, 1/2"-13, G5

2шт.

29

H182113

KNOB

2шт.

Выбрано товаров: 29