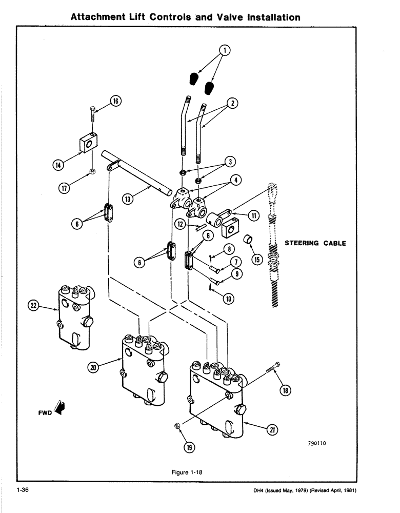
Запчасти Case DH4 (1-36) - ATTACHMENT LIFT CONTROLS AND VALVE INSTALLATION (90) - PLATFORM, CAB, BODYWORK AND DECALS

Схема запчастей Case DH4 - (1-36) - ATTACHMENT LIFT CONTROLS AND VALVE INSTALLATION (90) - PLATFORM, CAB, BODYWORK AND DECALS
FIT
1:1
100%

Артикул

Название

Примечание

Количество

1

A14051

GRIP

KNOB

1шт.

2

H242701

HANDLE

LEVER

1шт.

3

87016560

JAM NUT,Jam, 3/8"-16, G5

1шт.

4

H275255

CRANK LEVER

LEVER

1шт.

6

H196865

LINK

1шт.

7

D23693

AXLE PIN

PIN - Clevis (1/4 x 1)

1шт.

8

132-320

COTTER PIN,3/32" x 3/4"

PIN, SPLIT (COTTER), 3/32" x 3/4"

1шт.

9

H35279

AXLE PIN,4.72mm OD x 23.76mm L

PIN - Clevis (3/16 x 57/64)

1шт.

10

132-328

COTTER PIN,1/16" x 1/2"

PIN, SPLIT (COTTER), 1/16" x 1/2"

1шт.

11

H558361

LEVER

1шт.

12

138-135

LOCK PIN,1/4" x 1 1/8", Slotted

PIN, LOCK, 1/4" x 1 1/8", Slotted

1шт.

13

H640987

SHAFT

1шт.

14

H558403

BLOCK

& BUSHING ASSEMBLY, Includes: Refs. 15-17

2шт.

15

H151894

BUSHING

Includes: Refs. 16, 17

1шт.

16

113-121

BOLT,Hex, 5/16" - 18 x 2", Gr 5

2шт.

17

131-176

LOCK NUT,Prev Torque, Hex, 5/16" - 18, Gr A

NUT - Hex (5/16 NC - Lock)

2шт.

18

113-14

BOLT,Hex, 1/4" - 20 x 2", Gr 5

Hex, 1/4"- 20 x 2", G5

2шт.

19

131-1180

LOCK NUT,1/4"-20, GA

NUT, LOCK, 1/4"-20, GA

2шт.

20

H630244

VALVE

- Attachment Lift control (2-spool) (See Figure 1-76)

1шт.

21

H641050

LOCK VALVE

VALVE - Attachment Lift control (3-spool) (See Figure 1-78)

1шт.

22

H657320

VALVE

- Attachment Lift Control (1-spool) (See Figure 1-79A)

1шт.

Выбрано товаров: 21