Запчасти Case DH4 (1-30) - ELECTRICAL SYSTEM (55) - ELECTRICAL SYSTEMS

Схема запчастей Case DH4 - (1-30) - ELECTRICAL SYSTEM (55) - ELECTRICAL SYSTEMS
FIT
1:1
100%

Артикул

Название

Примечание

Количество

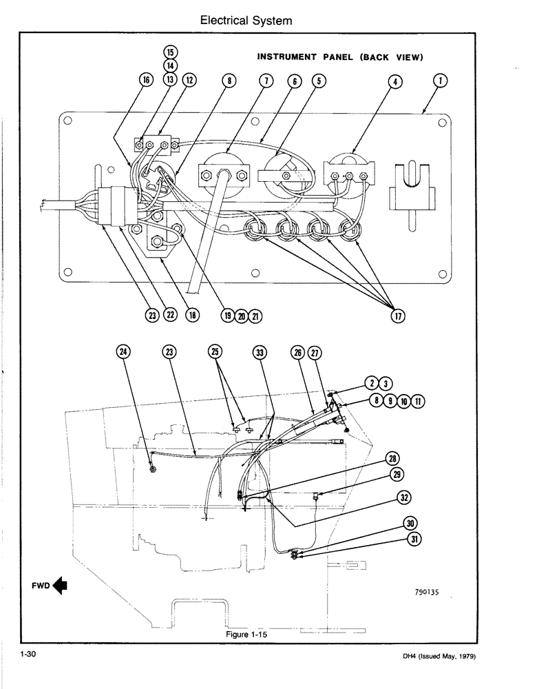
1

H640581

PANEL - Instrument, Includes: Refs. 2, 3

1шт.

2

113-102

BOLT,Hex, 5/16" - 18 x 3/4", Gr 5

Hex, 5/16"-18 x 3/4", G5, Full Thd

6шт.

3

H346650

NUT

- "U" (5/16)

6шт.

4

H347872

GAUGE ASSY.

GUAGE - Water Temperature

1шт.

5

H347898

HOURMETER

1шт.

6

H377853

WIRE -, Serial Range: Gauges-Ground

1шт.

7

H331850

GAUGE ASSY.

GAUGE - Engine Oil Pressure

1шт.

8

A77312

SWITCH

- Ignition, Includes: Refs. 9, 10

1шт.

9

F67231

WASHER

- Special (1 1/32 I.D. x 1-1/2 O.D. x 16 ga..)

1шт.

10

A77314

NUT

1шт.

11

A77313

SET OF 2 KEYS

KEY

1шт.

12

D37252

BREAKER

- Circuit (10 amp), Includes: Refs. 13-15

1шт.

13

163-32

SCREW,Hex, #10 - 24 x 1/2"

BOLT - NC HH (#10 x 1/2)

2шт.

14

192-18

LOCK WASHER,Helical Spring, #10, 0.196" ID, CST, ZND

WASHER, LOCK, #10

2шт.

15

131-1142

LOCK NUT,Hex, #10 - 24, Gr A

NUT, LOCK, #10-24, GA

2шт.

16

H377887

WIRE - Circuit Breaker to Glow Plug Switch

1шт.

17

H603852

LIGHT

- Indicator

4шт.

18

H35048

IGNITION SWITCH

SWITCH - Glow Plug, Includes: Refs. 19-21

1шт.

19

113-4

BOLT,Hex, 1/4" - 20 x 1", Gr 5

2шт.

20

195-518

WASHER,1/4", SAE

- Flat (1/4)

2шт.

21

131-1180

LOCK NUT,1/4"-20, GA

NUT, LOCK, 1/4"-20, GA

2шт.

22

H650192

HARNESS - Instrument Panel Wiring

1шт.

23

H377721

HARNESS - Main Wiring

1шт.

24

H344580

SENDER UNIT

SENDER - Water Temperature

1шт.

25

H342766

SWITCH

SENDER - Hydraulic Oil Filter

2шт.

26

H71894

HOSE - Engine Oil Pressure

1шт.

27

221-335

COUPLING,Pipe, 1/8" NPT

- Pipe (1/8)

1шт.

28

218-909

HYD CONNECTOR,1/8" NPT x 1/4" NPSM Fem

ADAPTER

1шт.

29

H81935

SENDER UNIT

SENDER - Hydraulic Oil Temperature

1шт.

30

H406363

NEUTRAL START SWITCH

SWITCH - Neutral Start, Includes: Ref. 31

2шт.

31

H380386

NUT

PALNUT

2шт.

32

H377838

WIRE - ENGINE TO FRAME GROUND

1шт.

33

H172304

NEG BATTERY CABLE

CABLE - Battery (See Figure 1-26)

2шт.

Выбрано товаров: 33