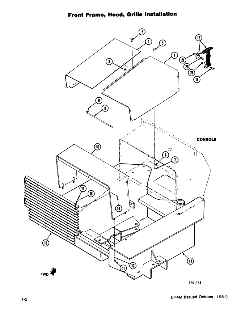
Запчасти Case DH4 (1-02) - FRONT FRAME, HOOD, GRILL INSTALLATION (39) - FRAMES AND BALLASTING

Схема запчастей Case DH4 - (1-02) - FRONT FRAME, HOOD, GRILL INSTALLATION (39) - FRAMES AND BALLASTING
FIT
1:1
100%

Артикул

Название

Примечание

Количество

1

H661868

HOOD ASSY.

HOOD - Right

1шт.

2

113-1

BOLT,Hex, 1/4" - 20 x 1/2", Gr 5

5шт.

3

131-1180

LOCK NUT,1/4"-20, GA

NUT, LOCK, 1/4"-20, GA

5шт.

4

H661850

HOOD ASSY.

HOOD - Left

1шт.

5

113-102

BOLT,Hex, 5/16" - 18 x 3/4", Gr 5

Hex, 5/16"-18 x 3/4", G5, Full Thd

8шт.

6

195-521

WASHER,5/16", SAE

- Flat (5/16)

8шт.

7

131-176

LOCK NUT,Prev Torque, Hex, 5/16" - 18, Gr A

NUT - NC Hex (5/16 Lock)

8шт.

8

H640243

ROD

- Hood Support

1шт.

9

132-320

COTTER PIN,3/32" x 3/4"

PIN, SPLIT (COTTER), 3/32" x 3/4"

1шт.

10

H661843

FRAME

WRAP - Front

1шт.

11

230-4216

LOCK NUT,3/8"-16, GA

NUT - NC Hex (3/8 Lock)

4шт.

12

195-525

WASHER,3/8", SAE

4шт.

13

H651141

GRILLE

- Front

1шт.

14

113-206

BOLT,Hex, 3/8" - 16 x 3/4", Gr 5, Full Thd

4шт.

15

230-4216

LOCK NUT,3/8"-16, GA

NUT - NC Hex (3/8 Lock)

4шт.

16

195-525

WASHER,3/8", SAE

4шт.

17

H661827

FRAME ASSY

FRAME - Front

1шт.

18

H628263

LATCH ASSY.

LATCH - Hood

2шт.

19

113-1003

SCREW,Hex, #10 - 24 x 3/4", Gr 5

4шт.

20

163-32

SCREW,Hex, #10 - 24 x 1/2"

BOLT - NC HH (#10 x 1/2)

4шт.

21

131-1142

LOCK NUT,Hex, #10 - 24, Gr A

NUT, LOCK, #10-24, GA

8шт.

Выбрано товаров: 21