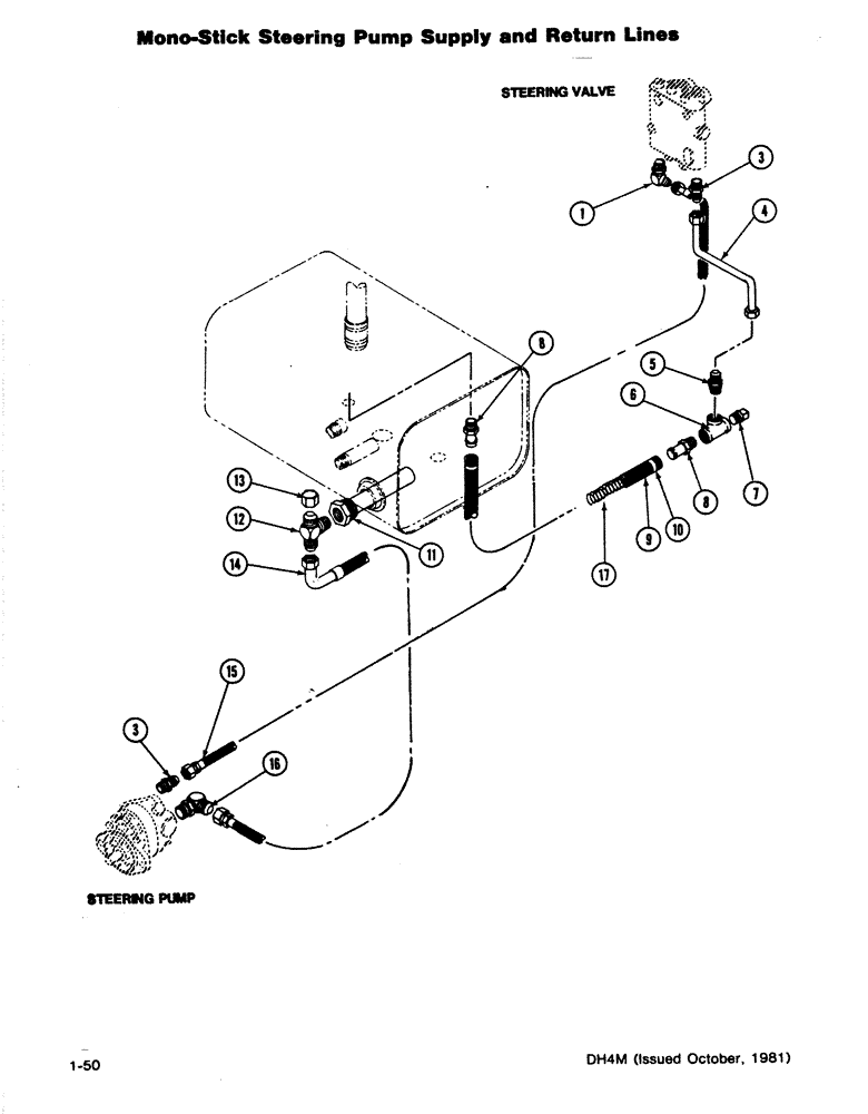
Запчасти Case DH4 (1-50) - MONO-STICK STEERING PUMP SUPPLY AND RETURN LINES (41) - STEERING

Схема запчастей Case DH4 - (1-50) - MONO-STICK STEERING PUMP SUPPLY AND RETURN LINES (41) - STEERING
FIT
1:1
100%

Артикул

Название

Примечание

Количество

1

218-5136

ELBOW,45 Degree Elbow, 3/4" - 16 Male JIC x 3/4" - 16 Male ORB

- 45 deg. (9/16 ORB x 9/16 JIC M)

1шт.

3

218-5059

HYD CONNECTOR,3/4"-16, 37 Degree x 3/4"-16, O-Ring

CONNECTOR - (9/16 ORB x 3/4 JIC M)

2шт.

4

H416073

TUBE ASSY.,12.7 mm OD

TUBE - "OUT" Port

1шт.

5

218-1025

HYD CONNECTOR,3/4"-16, 37 Degree x 3/4"-14, NPTF

CONNECTOR - (3/4 JIC M x 3/4 MP)

1шт.

6

221-425

FITTING,3/4" NPT

TEE - Pipe (3/4)

1шт.

7

221-48

PLUG

- Pipe (3/4)

1шт.

8

217-155

FITTING,3/4" Hose Barb x 3/4" Male NPTF

CONNECTOR - (3/4 MP x 3/4 Barb)

2шт.

9

H309039

LARGE HOSE

HOSE - 3/4 x 38

1шт.

10

214-254

HOSE CLAMP,#12, 0.69" - 1.25", Type F Worm

CLAMP - Hose

2шт.

11

H584631

FILTER ASSY

FILTER - Suction

1шт.

12

H383125

TEE

- (1 MP 1-1/16 JIC M x 1-1/16 JIC M)

1шт.

13

218-335

CAP,37 Degree, 1 1/16"-12

Tee 37º, 1 1/16"-12

1шт.

14

H265496

HOSE

& TUBE - 3/4 x 20 (1-1/16 JIC Fe Swv)

1шт.

15

H190041

HYDRAULIC HOSE,9.52 mm ID x 457.20 mm, SAE 100R1

9.52 mm ID x 457.20 mm

1шт.

16

218-5108

ELBOW,90 Degree Elbow, 1-1/16" - 12 Male JIC x 1-1/16" - 12 Male ORB

90º (1-1/6 ORB x 1-1/16 JIC M)

1шт.

17

H309906

SPRING

- Hose

2шт.

Выбрано товаров: 0