Запчасти Case DH4B (8-294) - SWING CYLINDER HYDRAULIC CIRCUIT, REAR MOUNTED BACKHOE - VERTICAL CONTROL VALVE (08) - HYDRAULICS

Схема запчастей Case DH4B - (8-294) - SWING CYLINDER HYDRAULIC CIRCUIT, REAR MOUNTED BACKHOE - VERTICAL CONTROL VALVE (08) - HYDRAULICS
FIT
1:1
100%

Артикул

Название

Примечание

Количество

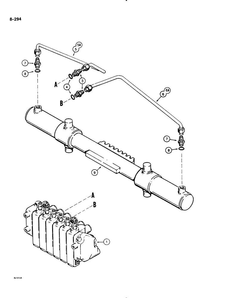
1

H513788

LOCK VALVE

CONTROL VALVE ASSEMBLY - backhoe, parts list and special notes Figure 8-336

1шт.

3

218-5059

HYD CONNECTOR,3/4"-16, 37 Degree x 3/4"-16, O-Ring

CONNECTER, HYD., , Adapter, Straight, Male, Incl. Ref 4 3/4"-16, 37º x 3/4"-16, O-Ring

2шт.

5

H669697

TUBE,12.7 mm OD

- swing cylinder, left-hand, backhoes with standard controls, if used

1шт.

5a

H672532

TUBE ASSY.,12.7 mm OD

TUBE - swing cylinder, left-hand, backhoes with dual lever control, if used

1шт.

6

H669705

TUBE ASSY.,12.7 mm OD

TUBE - swing cylinder, right-hand, backhoes with standard controls, if used

1шт.

6a

H672520

TUBE ASSY.,12.7 mm OD

TUBE - swing cyilnder, right-hand, backhoes with dual lever control if used

1шт.

7

218-5059

HYD CONNECTOR,3/4"-16, 37 Degree x 3/4"-16, O-Ring

CONNECTER, HYD., , Adapter, Straight, Male, Incl. Ref 8 3/4"-16, 37º x 3/4"-16, O-Ring

2шт.

9

H514125

CYLINDER ASSY.

CYLINDER ASSEMBLY - backhoe swing, parts list Figure 8-342

1шт.

In the Artwork the Ref. 5 & 5A Should be switched with Ref. 6 & 6A

1шт.

4

218-5006

O-RING,0.087" Thk x 0.644" ID, -908, Cl 6, 90 Duro

8-1, 90 Duro, .644" ID x .087" Thk, adapter

1шт.

8

218-5006

O-RING,0.087" Thk x 0.644" ID, -908, Cl 6, 90 Duro

8-1, 90 Duro, .644" ID x .087" Thk, adapter

1шт.

Выбрано товаров: 11