Запчасти Case DH4B (9-468) - PLOW REAR FRAME AND GEARBOX MOUNTING (09) - CHASSIS/ATTACHMENTS

Схема запчастей Case DH4B - (9-468) - PLOW REAR FRAME AND GEARBOX MOUNTING (09) - CHASSIS/ATTACHMENTS
FIT
1:1
100%

Артикул

Название

Примечание

Количество

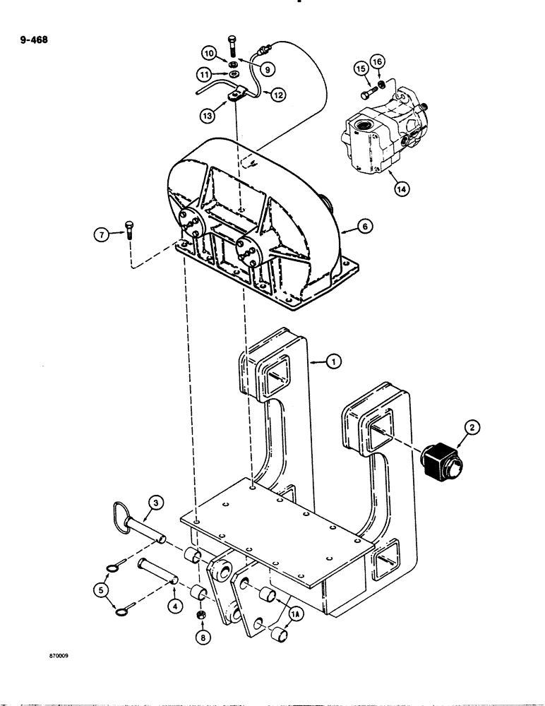
1

H663377

FRAME

ASSEMBLY - plow, rear, Includes: Ref. 1A, 2

1шт.

Ref 1. The part numbers of the ears where ref 3 fits through is h560383 L.H. and H560375 R.H.

1шт.

1a

H131102

BUSHING

- rear plow frame

4шт.

2

H235069

SEAL

BUSHING - rubber, rear plow frame

4шт.

3

H531830

AXLE PIN

PIN - plow blade locking

1шт.

4

H79293

AXLE PIN,28.5mm OD x 128.59mm L

CLEVIS PIN - 1-1/8" x 4-7/8" long

1шт.

5

A30338

PIN

- lock

2шт.

6

H563619

BOX

GEARBOX ASSEMBLY - plow, parts list Figure 9-470

1шт.

7

113-421

BOLT,Hex, 1/2" - 13 x 2", Gr 5

8шт.

8

131-1182

LOCK NUT,1/2"-13, GA

NUT - hex, self-locking, 1/2" - 13 NC, plated

10шт.

9

113-441

BOLT,Hex, 1/2" - 13 x 2-1/4", Gr 5

Hex, 1/2"-13 x 2 1/4", G5

2шт.

10

192-23

LOCK WASHER,1/2"

WASHER, LOCK, 1/2"

2шт.

11

195-533

WASHER,1/2", SAE

- flat, 1/2", plated

2шт.

12

H546275

TUBE,0.25" OD x 18" L

- breather, plow gearbox

1шт.

13

H151753

CLAMP

- breather tube

1шт.

14

H624759

MOTOR, ELECTRIC

MOTOR ASSEMBLY - plow gearbox, parts list Figure 6-154

1шт.

15

113-412

BOLT,Hex, 1/2" - 13 x 1-3/4", Gr 5

2шт.

16

192-23

LOCK WASHER,1/2"

WASHER, LOCK, 1/2"

2шт.

Выбрано товаров: 18