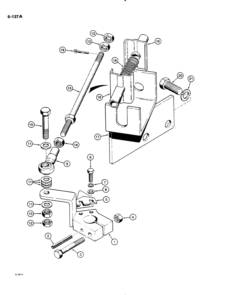
Запчасти Case DH4B (6-137A) - NEUTRAL CENTERING CONTROL, MONO-STICK AND STEERING WHEEL UNITS USED ON PIN 1228774 AND AFTER (06) - POWER TRAIN

Схема запчастей Case DH4B - (6-137A) - NEUTRAL CENTERING CONTROL, MONO-STICK AND STEERING WHEEL UNITS USED ON PIN 1228774 AND AFTER (06) - POWER TRAIN
FIT
1:1
100%

Артикул

Название

Примечание

Количество

1

H672036

LEVER

- neutral centering

1шт.

2

138-140

LOCK PIN,1/4" x 1 3/4", Slotted

PIN, 1/4" x 1 3/4", Slotted

1шт.

3

113-110

BOLT,Hex, 5/16" - 18 x 2-1/4", Gr 5

Hex, 5/16"-18 x 2 1/4", G5

1шт.

4

131-176

LOCK NUT,Prev Torque, Hex, 5/16" - 18, Gr A

NUT - hex, self-locking, 5/16" - 18 NC, plated

1шт.

5

H672037

PLATE

TAB - neutral start actuating

1шт.

6

113-3

BOLT,Hex, 1/4" - 20 x 3/4", Gr 5

2шт.

7

192-19

LOCK WASHER,Helical Spring, 0.256" ID, CST, ZND

- 20 NC x 3/4", plated 1/4"

2шт.

8

195-518

WASHER,1/4", SAE

- flat, 1/4", plated

2шт.

9

S108030

JOINT

BALL JOINT - neutral centering

1шт.

10

28-632

BOLT,Hex, 3/8" - 24 x 2", Gr 8

- hex head, 3/8" - 25 NF x 2", grade 8

2шт.

11

196-1

WASHER,13/32" x 13/16" x .089", HDN

- flat, 3/8", hardened, plated

5шт.

12

86585245

SPECIAL NUT,JAM, 5/8" - 18

- hex, jam, 3/8" - 24 NF, plated

2шт.

13

131-1133

NUT,3/8"-24, GC

NUT - hex, self-locking, 3/8" - 24 NF, plated

2шт.

14

129-123

NUT,3/8"-24, G5

1шт.

15

H668186

STEM

ROD - centering spring

1шт.

16

H668194

CHANNEL

RETAINER - spring

2шт.

17

H672033

SUPPORT

BRACKET - neutral centering

1шт.

18

D70304

COMPRESSION SPRING,0.955" OD x 4.00" L

- neutral centering

1шт.

19

132-310

COTTER PIN,1/8" x 1"

PIN, SPLIT (COTTER), 1/8" x 1"

1шт.

20

814-12035

BOLT,Hex, M12 x 1.75 x 35mm, Cl 8.8, Full Thd

- hex head, 12 mm - 1.75 x 35 mm (8.8), plated

2шт.

21

192-23

LOCK WASHER,1/2"

WASHER, LOCK, 1/2"

2шт.

Выбрано товаров: 21