Запчасти Case DH4B (1-22) - FUEL SYSTEM - 2.1 LITRE DIESEL ENGINE (10) - ENGINE

Схема запчастей Case DH4B - (1-22) - FUEL SYSTEM - 2.1 LITRE DIESEL ENGINE (10) - ENGINE
FIT
1:1
100%

Артикул

Название

Примечание

Количество

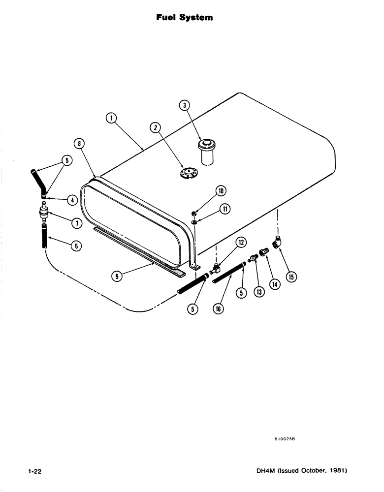
1

H661801

FUEL TANK

ASSEMBLY, Includes: Ref. 2

1шт.

2

H423756

SENDER UNIT

GAUGE - Fuel (Includes Gasket & Screws)

1шт.

3

H151274

CYLINDER END CAP

CAP - Tank

1шт.

4

H411611

FUEL HOSE,7.90 mm ID x 160.00 mm, SAE 30R2

HOSE - (5/16 ID x 150 mm)

1шт.

5

214-274

HOSE CLAMP,#04, 0.25" - 0.62", Type F Worm

6шт.

6

H416354

FUEL HOSE,7.90 mm ID x 1800.00 mm, SAE 30R6

Cut from Bulk Hose 7.90 mm ID x 1800.00 mm, SAE 30R6

1шт.

7

H413666

FILTER CARTRIDGE

FILTER - Fuel

1шт.

S/N135000and after use a Spin On Fuel Filter H669283.

1шт.

8

H373449

STRAP

- Tank (replaces H373499)

2шт.

9

H10363

STRIP

DORTITE - (50 foot roll)

1шт.

10

131-176

LOCK NUT,Prev Torque, Hex, 5/16" - 18, Gr A

NUT - NC Hex (5/16)

4шт.

11

195-521

WASHER,5/16", SAE

- Flat (5/16)

4шт.

12

217-295

FITTING,90 Degree Elbow, 5/16" Hose Barb x 1/4" Male NPTF

ELBOW - (1/4 MP x 3/16 Barb)

1шт.

13

217-126

FITTING,3/16" Hose Barb x 1/4" Male NPTF

CONNECTOR - (1/4 MP x 3/16 Barb)

1шт.

14

221-86

REDUCER,Hex, 3/8" x 1/4" NPT

BUSHING - Pipe (3/8 to 1/4)

1шт.

15

221-413

ELBOW,90 Degree, 3/8"-18, NPT

- Street (3/8)

1шт.

16

H404038

FUEL HOSE,4.80 mm ID x 2159.00 mm, SAE 30R3

4.80 mm ID x 2159.00 mm, SAE 30R3

1шт.

Выбрано товаров: 17